Cuộc đời lạ thường của người phụ nữ "đẹp nhất thế giới". Hedy Lamarr nói về khát khao làm khoa học, dù được mệnh danh “đẹp nhất thế giới” rằng “Tôi nghĩ là trí thông minh thú vị hơn bề ngoài”.
Từng được mệnh danh “người phụ nữ đẹp nhất” và đóng hơn 30 bộ phim, Hedy Lamarr lại tìm thấy bản thân trong các sáng chế. Bà từng góp phần tạo ra công nghệ nhảy tần, tiền thân của wifi, GPS và bluetooth mà ngày nay hàng tỷ người sử dụng.

Nữ diễn viên Hedy Lamarr còn được mệnh danh là người phụ nữ đẹp nhất mọi bộ phim. Ảnh:The Guardian.
Hedy Lamarr tên thật là Hedwig Eva Maria Kiesler, sinh ngày 9/11/1914 ở Vienna (Áo). Năm 17 tuổi, cô bé Hedwig có vai diễn đầu tiên. Năm 1932, Lamarr tham gia bộ phim Ecstasyvà lập tức tạo cơn sốt bởi nhiều cảnh nóng.
Ecstasy bị cấm chiếu tại Mỹ nhưng đủ để giúp Lamarr lọt vào mắt xanh các nhà sản xuất phim ở Hollywood. Cô gái trẻ ký hợp đồng với hãng MGM và chuyển tới Mỹ, đổi tên thành Hedy Lamarr.
Lamarr say mê khoa học. Những lúc không phải đóng phim, cô thức cả đêm để mày mò, sáng chế. “Tôi không cố tìm ý tưởng. Chúng cứ tự nhiên đến”, Lamarr chia sẻ.Nữ diễn viên từng thử cải thiện hệ thống đèn giao thông và chế ra viên sủi biến nước thành nước có ga.
Một trong ít người biết đến khả năng sáng chế của Lamarr là ông trùm hàng không Howard Hughes. Dựa trên hình ảnh những loài chim, cá nhanh nhất có thể tìm được, Lamarr hỗ trợ Hughes cải tiến thiết kế máy bay để tăng tốc độ.

Lamarr có niềm đam mê với khoa học. Ảnh: Forbes.
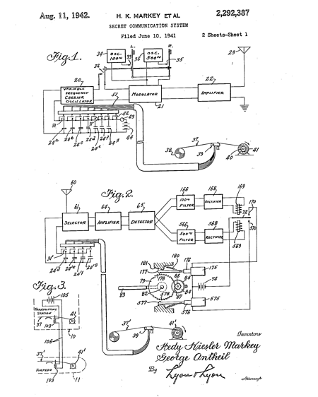
Thành tựu lớn nhất của Lamarr là thiết bị có tên “hệ thống thông tin bí mật”
Trong chiến tranh thế giới thứ hai, Lamarr biết rằng ngư lôi điều khiển bằng sóng vô tuyến dù là công nghệ tân tiến nhưng rất dễ bị gây nhiễu. Cô nảy ra ý tưởng về hệ thống nhảy tần có khả năng thay đổi tín hiệu sóng vô tuyến truyền đến ngư lôi, nhờ đó tránh bị gây nhiễu và theo dõi.
Mùa hè năm 1940, Lamarr liên hệ với bạn mình, nhà soạn nhạc George Antheil. Cả hai bắt đầu phát triển “hệ thống thông tin bí mật”. Sau này, Antheil kể lại: “Hedy không thoải mái khi ở lại Hollywood, kiếm nhiều tiền trong khi chiến tranh đang nổ ra. Cô ấy nói mình biết nhiều về các vũ khí bí mật và nghiêm túc nghĩ về việc bỏ MGM tới Washington, cống hiến cho Hội đồng Sáng chế Quốc gia mới thành lập”.
Dựa trên cơ chế đàn pianola (loại dương cầm tự chơi), Lamarr và Antheil chế tạo thành công hệ thống nhảy tần. Họ được cấp bằng sáng chế năm 1942.

Bản thiết kế hệ thống liên lạc bí mật của Lamarr và Antheil. Ảnh: USPTO.
Các ý tưởng phát minh đến với Lamarr, còn danh tiếng và phần thưởng xứng đáng thì không. Hải quân Mỹ tiếp nhận sáng chế của Lamarr và Antheil nhưng không sử dụng cho tới năm 1962. Quân đội tin rằng nhan sắc của nữ diễn viên hữu ích hơn nên đề nghị Lamarr giúp họ bán trái phiếu chiến tranh bằng cách bán nụ hôn. Cụ thể, cô sẽ hôn bất cứ ai mua số trái phiếu trị giá 25.000 USD.
Hội đồng Nhà Sáng chế Quốc gia Mỹ từng nhận xét Lamarr “rất có tiềm năng cho chương trình quốc phòng quốc gia” song sự nghiệp khoa học của nữ diễn viên không được biết đến rộng rãi cho tới cuối thập niên 1990. Đối với báo chí, cuộc sống của Lamarr chỉ xoay quanh nhan sắc, những bộ phim và chuyện tình cảm phức tạp với 6 lần kết hôn, 6 lần ly dị.
Những vai diễn Lamarr đảm nhận hay có điểm chung là xinh đẹp, dễ hấp dẫn đàn ông nhưng ít nói. Bà hiểu rõ lý do sự nghiệp khoa học của mình bị bỏ quên: Nó không phù hợp với chiến lược kinh doanh của hãng phim.
Trong bộ phim tài liệu Bombshell, giáo sư Jan-Christopher Horak, giám đốc Phòng Lưu trữ Phim và Truyền hình Đại học California, Los Angeles nhận định mẫu phụ nữ vừa xinh đẹp vừa thông minh không được Louis B. Mayer, nhà sáng lập MGM, ưa thích.
“Một phụ nữ quyền lực, xinh đẹp và thông minh khiến đàn ông sợ hãi”, tiến sĩ Simon Nyeck, giám đốc thương hiệu ở Trường Kinh doanh ESSEC Paris cho biết. Theo tiến sĩ Nyeck, trước kia, các nữ diễn viên chỉ được coi trọng về nhan sắc chứ không phải trí tuệ, chỉ như “những món đồ chơi” và “không có tiếng nói”. Do đó, không ngạc nhiên khi cả sự nghiệp khoa học lẫn nỗ lực sản xuất, đạo diễn phim của Lamarr đều không được đền đáp xứng đáng.
Vì bằng sáng chế đã hết hạn trước khi được đem ra sử dụng rộng rãi, Lamarr không bao giờ được hưởng lợi từ ý tưởng của mình. Những năm cuối đời, bà sống xa lánh xã hội nhưng vẫn tiếp tục sáng chế.Ngày 19/1/2000, Lamarr qua đời ở Casselberry, Florida (Mỹ), thọ 85 tuổi.
Theo đúng nguyện vọng của mẹ, con trai Lamarr là Anthony Loder đã mang tro cốt bà về Áo, rải trong những cánh rừng ở dãy núi Wienerwald. “Mẹ muốn được nhớ đến như một người đóng góp cho sự thịnh vượng của nhân loại”, Loder nói.
VietBF@ sưu tập