HOME-Au
HOME-Au
24h
24h
USA
USA
GOP
GOP
Phim Bộ
Phim Bộ
Videoauto
VIDEO-Au
Home Classic
Home Classic
Donation
Donation
News Book
News Book
News 50
News 50
worldautoscroll
WORLD-Au
Breaking
Breaking
 

Go Back   VietBF > Other News|Tin Khác > Mobile News|Tin Di Động


Reply
 
Thread Tools
  #1  
Old  Default Apple sẽ ra mắt iPhone màn hình gập
Chiếc điện thoại này của Apple có lẽ sẽ không bị nếp nhăn ở giữa như những smartphone màn gập đời đầu.

Xu hướng mới nhất của smartphone hiện tại là một màn hình có thể gập lại. Nhiều mẫu smartphone gập đã được giới thiệu năm 2019 như Samsung Galaxy Fold, Huawei Mate X, cùng nhiều thiết bị đang phát triển của Xiaomi, Oppo, Huawei...

Apple có lẽ không muốn đứng ngoài cuộc chơi và cũng đang chuẩn bị cho chiếc smartphone gập của riêng mình. Trong một hồ sơ có tiêu đề "Thiết bị điện tử có màn hình và bản lề linh hoạt", do Văn phòng Bằng sáng chế và Thương hiệu Mỹ công bố, Apple mô tả thiết kế của một smartphone có màn hình gập lại được.

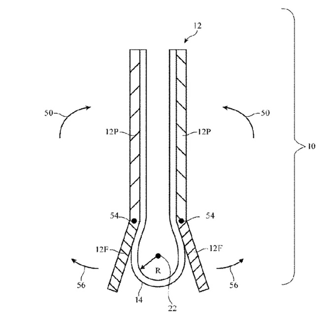
Theo bản hồ sơ, Apple uốn cong màn hình theo cách khiến phần giữa hơi cong ra ngoài một chút trước khi gập màn hình lại. Điều này cho phép các phần chính và các cạnh của màn hình tương tác với nhau một cách linh hoạt mà không chịu ảnh hưởng của khu vực cong, đồng thời cho phép phần uốn cong có thể hoạt động ở bán kính mở rộng, giảm thiểu sức ép của các bộ phận.

Điểm quan trọng trong thiết kế này là bản lề, với cơ chế xoay cho phép màn hình chuyển động linh hoạt khi gập, đồng thời tạo không gian đủ để màn hình không va chạm với các bộ phận khác khi gập lại. Thêm vào đó, một giá đỡ và hệ thống bánh răng có thể được sử dụng để duy trì khoảng cách của vỏ và màn hình.

Đây là một thiết kế rất phức tạp, nhưng chưa chắc đã là thiết kế được ứng dụng trên iPhone màn hình gập. Hàng tuần, Apple nộp rất nhiều đơn để xin cấp bằng sáng chế, thực tế không phải ý tưởng nào của hãng cũng được hiện thực hóa. Dù vậy, những bằng sáng chế cũng đem lại hi vọng về kiểu dáng hoàn toàn mới của iPhone.


Một thiết kế bản lề khác mà Apple đã đăng ký. Ảnh: Apple Insider.

Nếu theo dõi các hồ sơ mà Apple đăng ký, có thể thấy họ đã quan tâm đến thiết kế gập từ lâu. Năm 2018, Apple đã được trao bằng sáng chế cho một dự án có tên tương tự: "Thiết bị điện tử có màn hình linh hoạt". Sản phẩm của Apple có kiểu gập vào bên trong tương tự Galaxy Fold nhưng phần lưng có thể uốn cong như màn hình ở mặt trước, thay vì phải dùng bản lề tách rời. Lớp kính bảo vệ được làm từ thủy tinh, sapphire hoặc zirconia.

Họ cũng đã nghiên cứu một thiết bị lớn hơn với màn hình uốn cong theo kiểu zigzag, màn hình bao phía ngoài, hay một chiếc điện thoại gập có thể “ghim” vào quần áo.

VietBF © sưu tầm
VIETBF Diễn Đàn Hay Nhất Của Người Việt Nam

HOT NEWS 24h

HOT 3 Days

NEWS 3 Days

HOT 7 Days

NEWS 7 Days

HOME

Breaking News

VietOversea

World News

Business News

Car News

Computer News

Game News

USA News

Mobile News

Music News

Movies News

History

Thơ Ca

Sport News

Stranger Stories

Comedy Stories

Cooking Chat

Nice Pictures

Fashion

School

Travelling

Funny Videos

Canada Tin Hay

USA Tin Hay

VietBF Homepage Autoscroll

VietBF Video Autoscroll Portal

Home Classic

Home Classic Master Page


Cupcake01
R10 Vô Địch Thiên Hạ
Release: 02-09-2020
Reputation: 158451


Profile:
Join Date: May 2019
Posts: 56,534
Last Update: None Rating: None
Attached Thumbnails
Click image for larger version

Name:	f.jpg
Views:	0
Size:	45.5 KB
ID:	1526606  
Cupcake01_is_offline
Thanks: 46
Thanked 3,721 Times in 3,241 Posts
Mentioned: 0 Post(s)
Tagged: 0 Thread(s)
Quoted: 14 Post(s)
Rep Power: 70
Cupcake01 Reputation Uy Tín Level 9Cupcake01 Reputation Uy Tín Level 9Cupcake01 Reputation Uy Tín Level 9
Cupcake01 Reputation Uy Tín Level 9Cupcake01 Reputation Uy Tín Level 9Cupcake01 Reputation Uy Tín Level 9Cupcake01 Reputation Uy Tín Level 9Cupcake01 Reputation Uy Tín Level 9Cupcake01 Reputation Uy Tín Level 9Cupcake01 Reputation Uy Tín Level 9Cupcake01 Reputation Uy Tín Level 9Cupcake01 Reputation Uy Tín Level 9Cupcake01 Reputation Uy Tín Level 9Cupcake01 Reputation Uy Tín Level 9Cupcake01 Reputation Uy Tín Level 9Cupcake01 Reputation Uy Tín Level 9Cupcake01 Reputation Uy Tín Level 9Cupcake01 Reputation Uy Tín Level 9Cupcake01 Reputation Uy Tín Level 9Cupcake01 Reputation Uy Tín Level 9Cupcake01 Reputation Uy Tín Level 9Cupcake01 Reputation Uy Tín Level 9Cupcake01 Reputation Uy Tín Level 9Cupcake01 Reputation Uy Tín Level 9Cupcake01 Reputation Uy Tín Level 9Cupcake01 Reputation Uy Tín Level 9
Reply

User Tag List



 
Lên đầu Xuống dưới Lên 3000px Xuống 3000px

iPad Videos Portal Autoscroll

VietBF Music Portal Autoscroll

iPad News Portal Autoscroll

VietBF Homepage Autoscroll

VietBF Video Autoscroll Portal

USA News Autoscroll Portall

VietBF WORLD Autoscroll Portal

Home Classic

Super Widescreen

Tin nóng nhất 24h qua

Tin nóng nhất 3 ngày qua

Tin nóng nhất 7 ngày qua

Tin nóng nhất 30 ngày qua

Albums

Total Videos Online
Lên đầu Xuống dưới Lên 3000px Xuống 3000px

Tranh luận sôi nổi nhất 7 ngày qua

Tranh luận sôi nổi nhất 14 ngày qua

Tranh luận sôi nổi nhất 30 ngày qua

10.000 Tin mới nhất

Tin tức Hoa Kỳ

Tin tức Công nghệ
Lên đầu Xuống dưới Lên 3000px Xuống 3000px

Super News

School Cooking Traveling Portal

Enter Portal

Series Shows and Movies Online

Home Classic Master Page

Donation Ủng hộ $3 cho VietBF
Lên đầu Xuống dưới Lên 3000px Xuống 3000px
Diễn Đàn Người Việt Hải Ngoại. Tự do ngôn luận, an toàn và uy tín. Vì một tương lai tươi đẹp cho các thế hệ Việt Nam hãy ghé thăm chúng tôi, hãy tâm sự với chúng tôi mỗi ngày, mỗi giờ và mỗi giây phút có thể. VietBF.Com Xin cám ơn các bạn, chúc tất cả các bạn vui vẻ và gặp nhiều may mắn.
Welcome to Vietnamese American Community, Vietnamese European, Canadian, Australian Forum, Vietnamese Overseas Forum. Freedom of speech, safety and prestige. For a beautiful future for Vietnamese generations, please visit us, talk to us every day, every hour and every moment possible. VietBF.Com Thank you all and good luck.

Lên đầu Xuống dưới Lên 3000px Xuống 3000px

All times are GMT. The time now is 11:02.
VietBF - Vietnamese Best Forum Copyright ©2005 - 2025
User Alert System provided by Advanced User Tagging (Pro) - vBulletin Mods & Addons Copyright © 2025 DragonByte Technologies Ltd.
Log Out Unregistered

Page generated in 0.10832 seconds with 13 queries