HOME-Au
HOME-Au
24h
24h
USA
USA
GOP
GOP
Phim Bộ
Phim Bộ
Videoauto
VIDEO-Au
Home Classic
Home Classic
Donation
Donation
News Book
News Book
News 50
News 50
worldautoscroll
WORLD-Au
Breaking
Breaking
 

Go Back   VietBF > Other News|Tin Khác > Mobile News|Tin Di Động


Reply
 
Thread Tools
  #1  
Old  Default Trong tương lai, ở đâu có iPhone ở đó có sóng điện thoại mạnh
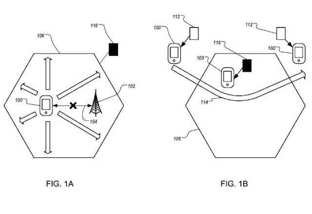
Bạn đang đi trên đường và nói chuyện điện thoại với ai đó thì đột nhiên các cuộc gọi bị mất hay bị rớt mạng. Đây có lẽ là một trong những điều gây phiền toái nhất cho người sử dụng điện thoại nhưng Apple sắp có một giải pháp để đảm bảo rằng tình trạng này không bao giờ xảy ra nữa.

Một bằng sáng chế mới của Táo khuyết có tên gọi 'hồ sơ địa điểm' dành cho mạng lưới theo dõi các điểm chết được công bố ngày 11/11. Bằng sáng chế này mô tả về một phần mềm có thể tồn tại như một ứng dụng trên điện thoại hoặc một dịch vụ làm việc dưới dạng nền. Nhưng dù bằng cách nào, nó sẽ ghi nhận khi bạn gặp vấn đề với một cuộc gọi hoặc mất kết nối ngẫu nhiên, sau đó đánh dấu các khu vực này. Lần sau, khi bạn vào khu vực được đánh dấu điện thoại của bạn sẽ cảnh báo cho bạn.


Với hàng triệu chiếc iPhone có khả năng tìm ra các điểm chết của mạng điện thoại như trên, Apple có thể xây dựng một kho dữ liệu về các điểm mất mạng. Tuy nhiên 'nhà táo' cũng giải thích rằng thông tin của người dùng sẽ được ẩn danh và thu thập cùng với những người khác để xác định các điểm chết tồi tệ nhất. Từ đó, công ty có thể chia sẻ thông tin đó với các nhà cung cấp mạng để họ khắc phục vấn đề.


Các bằng sáng chế cũng cho thấy rằng bạn có thể xem lịch sử rớt mạng trên thiết bị giúp bạn tránh được các điểm chết trong tương lai. Tuy nhiên, mục đích chính của tính năng này dường như là để thu thập dữ liệu từ nhiều thiết bị để cung cấp một giải pháp lâu dài thay vì sửa chữa một trường hợp cụ thể nào.

Hy vọng rằng bằng sáng chế này có áp dụng vào thực tế sớm để hạn chế những vụ rớt cuộc gọi hay mất sóng.

Thegioididong
VIETBF Diễn Đàn Hay Nhất Của Người Việt Nam

HOT NEWS 24h

HOT 3 Days

NEWS 3 Days

HOT 7 Days

NEWS 7 Days

HOME

Breaking News

VietOversea

World News

Business News

Car News

Computer News

Game News

USA News

Mobile News

Music News

Movies News

History

Thơ Ca

Sport News

Stranger Stories

Comedy Stories

Cooking Chat

Nice Pictures

Fashion

School

Travelling

Funny Videos

Canada Tin Hay

USA Tin Hay

VietBF Homepage Autoscroll

VietBF Video Autoscroll Portal

Home Classic

Home Classic Master Page

VietBF iPad Music Portal

Tin nóng nhất 50h qua

Phim Bộ Online

Phim Bộ



chickie
R6 Đệ Nhất Cao Thủ
chickie's Avatar
Release: 11-12-2014
Reputation: 207


Profile:
Join Date: Jun 2014
Posts: 2,296
Last Update: None Rating: None
Attached Thumbnails
Click image for larger version

Name:	apple-dead-spots-1.jpg
Views:	0
Size:	34.0 KB
ID:	687604   Click image for larger version

Name:	apple-dead-spots-2.jpg
Views:	0
Size:	46.4 KB
ID:	687605  
chickie_is_offline
Thanks: 315
Thanked 31 Times in 27 Posts
Mentioned: 0 Post(s)
Tagged: 0 Thread(s)
Quoted: 22 Post(s)
Rep Power: 14
chickie Reputation Uy Tín Level 1chickie Reputation Uy Tín Level 1chickie Reputation Uy Tín Level 1
Reply

User Tag List


Xả súng kinh hoàng tại Mỹ: Thảm Kịch Tại Brown University - Cơn Ác Mộng Giáng Sinh Và Nỗi Đau Chưa Từng Có Của Một Trường Ivy League Melissa Trần – Tâm thư từ Việt Nam của cô chủ tiệm nail bị trục xuất Úc: Khủng bố xả súng bắn vào cư dân Israel tại bải biển, giết chết 11 người và hàng chục người khác bị thương
Bác sĩ Mũ Đỏ Phạm Gia Cổn: Từ chiến trường Tam Biên đến Khí Công Hoàng Hạc Xả súng ở bãi biển Úc, ít nhất 11 người chết Người Việt tại Đức xuống đường tố cáo bàn tay đàn áp xuyên quốc gia của CSVN
Giữa Tô Lâm và Phan Văn Giang: Cuộc cờ quyền lực, lợi ích nhóm và thân phận 100 triệu dân Target “chơi lớn” ở SoHo: Cửa hàng kiểu mẫu để giành lại hào quang “Tar-zhay” Mỹ bất ngờ thu hẹp thâm hụt thương mại: vàng, thuế quan và những mặt trái sau các con số đẹp
Bài học Nokia giữa mùa đông Phần Lan: Thua từ bên trong trước khi thua thị trường Liuzhi – Bóng tối mới phủ xuống giới doanh nhân Trung Quốc 5 tiểu bang vàng cho nghề nail – hair – spa của người Việt tại Mỹ
Phố Tây Bùi Viện náo nhiệt và bóng dáng nhà canh tân cuối thế kỷ XIX Từ mafia thuốc lá đến tú bà Chemnitz: Vết nhơ kéo dài của một bộ phận người Việt Đông Đức Khi xe Trung Quốc viết lại trật tự ngành ô tô thế giới
Dự luật ‘một quốc tịch Mỹ’: ồn ào trên mặt báo, nhưng rất khó thành hiện thực Netflix nuốt chửng Warner Bros: Địa chấn 72 tỷ đô làm rung chuyển Hollywood Apple rung chuyển: Lãnh đạo lần lượt ra đi, Tim Cook trước cơn bão AI
Kế hoạch y tế mới của Trump: Chưa kịp ra mắt đã vỡ trận ngay trong nội bộ Cộng Hòa Cuộc trả thù chính trị của Trump: Từ vụ Comey, Letitia James đến đòn nhắm vào Mark Kelly Cơn say trên mây: Ai chịu trách nhiệm về hành khách nhậu nhẹt trên máy bay?
Giáng Sinh thắt lưng buộc bụng mà vẫn đủ ấm và đủ vui Mùa mua sắm Giáng Sinh 2025: Kinh tế chữ K và ảo giác “chi tiêu vẫn tăng” DOGE – thí nghiệm quyền lực thất bại của Trump và Musk
Ukraine, Trump và bản hòa ước mong manh giữa tiếng drone gầm rú Dũng Taylor: Căng thẳng đỉnh điểm giữa người Việt MAGA và người Việt Dân Chủ Hùng Cao về thăm Việt Nam: Từ đứa bé tị nạn đến kiến trúc sư an ninh Thái Bình Dương
“Ngày Tri Ân Trump” ở Little Saigon: khi tượng đài chiến sĩ bị biến thành sân khấu chính trị “Giải thưởng Neville Chamberlain” cho Trump và bản thỏa thuận 28 điểm bẩn thỉu Biển lửa Hồng Kông: giàn giáo tre bốc cháy, chung cư Tai Po hóa địa ngục giữa trời
Từ iPod đến “Delete Day”: Hành trình Gabriela Nguyễn thoát khỏi cơn nghiện mạng xã hội “Cha già dân tộc” đã khép lại: khi thần tượng chính trị bị kéo xuống mặt đất DOGE đã chết: “cải cách” 135 tỷ đô la đốt sạch tiền thuế của người Mỹ
VinFast VF 8 ở Mỹ: từ cáo buộc “sạc rùa bò” đến nguy cơ mất lái và lệnh triệu hồi hàng loạt Trump, Putin và ván cờ hòa bình Ukraine: khi “hạn chót” chỉ còn là lời nói gió bay 1.000 tỷ USD bốc hơi: Bitcoin bước vào thời kỳ ‘dành cho người thường’ và cơn say tiền số tan vỡ

 
Lên đầu Xuống dưới Lên 3000px Xuống 3000px

iPad Videos Portal Autoscroll

VietBF Music Portal Autoscroll

iPad News Portal Autoscroll

VietBF Homepage Autoscroll

VietBF Video Autoscroll Portal

USA News Autoscroll Portall

VietBF WORLD Autoscroll Portal

Home Classic

Super Widescreen

iPad World Portal Autoscroll

iPad USA Portal Autoscroll

Phim Bộ Online

Tin nóng nhất 24h qua

Tin nóng nhất 3 ngày qua

Tin nóng nhất 7 ngày qua

Tin nóng nhất 30 ngày qua

Albums

Total Videos Online
Lên đầu Xuống dưới Lên 3000px Xuống 3000px

Tranh luận sôi nổi nhất 7 ngày qua

Tranh luận sôi nổi nhất 14 ngày qua

Tranh luận sôi nổi nhất 30 ngày qua

10.000 Tin mới nhất

Tin tức Hoa Kỳ

Tin tức Công nghệ
Lên đầu Xuống dưới Lên 3000px Xuống 3000px

Super News

School Cooking Traveling Portal

Enter Portal

Series Shows and Movies Online

Home Classic Master Page

Donation Ủng hộ $3 cho VietBF
Lên đầu Xuống dưới Lên 3000px Xuống 3000px
Diễn Đàn Người Việt Hải Ngoại. Tự do ngôn luận, an toàn và uy tín. Vì một tương lai tươi đẹp cho các thế hệ Việt Nam hãy ghé thăm chúng tôi, hãy tâm sự với chúng tôi mỗi ngày, mỗi giờ và mỗi giây phút có thể. VietBF.Com Xin cám ơn các bạn, chúc tất cả các bạn vui vẻ và gặp nhiều may mắn.
Welcome to Vietnamese American Community, Vietnamese European, Canadian, Australian Forum, Vietnamese Overseas Forum. Freedom of speech, safety and prestige. For a beautiful future for Vietnamese generations, please visit us, talk to us every day, every hour and every moment possible. VietBF.Com Thank you all and good luck.

Lên đầu Xuống dưới Lên 3000px Xuống 3000px

All times are GMT. The time now is 09:12.
VietBF - Vietnamese Best Forum Copyright ©2005 - 2025
User Alert System provided by Advanced User Tagging (Pro) - vBulletin Mods & Addons Copyright © 2025 DragonByte Technologies Ltd.
Log Out Unregistered

Page generated in 0.13364 seconds with 15 queries