HOME-Au
HOME-Au
24h
24h
USA
USA
GOP
GOP
Phim Bộ
Phim Bộ
Videoauto
VIDEO-Au
Home Classic
Home Classic
Donation
Donation
News Book
News Book
News 50
News 50
worldautoscroll
WORLD-Au
Breaking
Breaking
 

Go Back   VietBF > Other News|Tin Khác > Auto News |Tin Ô Tô


Reply
 
Thread Tools
  #1  
Old  Default Mẫu xe ô tô điện Vinfast đăng kí bằng sáng chế: Đẹp không khác gì xe sang
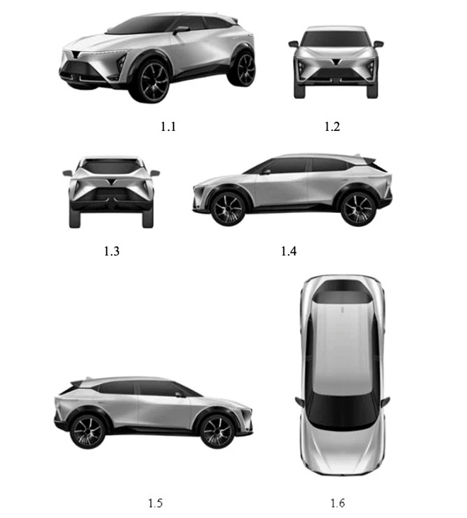
Mẫu xe điện mới của VinFast sở hữu thiết kế đẹp như xe sang, nhiều khả năng sẽ có tên gọi là VF e34P. Trong thông báo sở hữu công nghiệp tháng 9/202 của Cục Sở hữu trí tuệ, Công ty TNHH sản xuất và kinh doanh VinFast tiếp tục đăng ký bản quyền một mẫu ô tô hoàn toàn mới.

Mẫu xe này được đăng ký bản quyền từ ngày 15/7/2021, do nhà thiết kế gốc Hàn Jaehoon Lee chắp bút, khác hoàn toàn những bản thiết kế do studio Pininfarina hay Torino Design thực hiện trước đây. Jaehoon Lee hiện đang đảm nhận vị trí thiết kế ngoại thất cấp cao của GM, làm việc tại chi nhánh Úc.

Trong ảnh đăng ký, mẫu xe ô tô mới của VinFast không gắn logo và mới chỉ hiện diện ở dạng thiết kế 3D. Điều này cho thấy chiếc xe này sẽ sớm đưa lên dây chuyền sản xuất đại trà.

Trước đó, vào tháng 8/2021, VinFast cũng đăng ký bản quyền 2 mẫu xe mới và điểm chung với mẫu xe lần này là không có logo và thiết kế 3D.


Kiểu dáng một mẫu SUV thể thao mới được VinFast đăng ký hồi tháng 8/2021


Kiểu dáng một mẫu SUV Coupe được VinFast đăng ký hồi tháng 8/2021

Hiện chưa rõ tên gọi chính thức của mẫu xe mới này nhưng trong tài liệu dành cho nhà đầu tư quý II/2021, VinFast công bố kế hoạch ra mắt 3 mẫu ô tô điện hoàn toàn mới từ năm 2023 bao gồm VFe32 , VFe33 và VFe34P, tương đương phân khúc A, B và C.

Hai mẫu xe đăng ký bản quyền trong tháng 8/2021 đã từng được đồn đoán là VFe32 và VFe33, rất có thể mẫu xe lần này sẽ là VFe34P. Tuy nhiên, thông tin chính thức phải chờ VinFast công bố.


Thiết kế ngoại thất của mẫu xe ô tô VinFast lộ diện lần này mang hơi hướng các dòng xe sang. Những chi tiết bên ngoài không quá cầu kỳ, ấn tượng đọng lại khi ngắm bản thiết kế này là những đường cắt xẻ táo bạo. Phần đầu không có lưới tản nhiệt nên chắc chắn đây tiếp tục là một mẫu xe điện. Phần mui vuốt thấp dần về phía sau. Nhiều người đoán chiếc xe thuộc phân khúc Crossover/SUV 5 chỗ hoặc 5+2 chỗ.

Những dấu hiệu nhận biết đặc trưng của VinFast cũng được tái hiện ở hệ thống đèn chiếu sáng. Cụm đèn pha LED đặt ở vị trí thấp và phía sau hình cánh chim đặc trưng, mâm xe cỡ lớn và thiết kế cột C tương tự "đàn anh" VF e36.


Ô tô điện là định hướng lâu dài, VinFast đã vạch một chiến lược dài hơi cho cả thị trường trong nước và ngoài nước. Hồi cuối tháng 8 vừa qua, hãng xe Việt công bố hình ảnh thực tế của VF e34 trước khi bàn giao đến tay khách hàng vào tháng 11 tới đây.




Trong khi đó, VF e35 và VF e36 vừa được ra mắt ở Ý tại một sự kiện dành riêng cho giới truyền thông châu Âu. Hai mẫu xe này sẽ được trình làng toàn cầu tại triển lãm Los Angeles (Mỹ) ngày 19-28/11 và triển lãm CES tại Las Vegas (Mỹ) ngày 5-8/1/2022.
VIETBF Diễn Đàn Hay Nhất Của Người Việt Nam

HOT NEWS 24h

HOT 3 Days

NEWS 3 Days

HOT 7 Days

NEWS 7 Days

HOME

Breaking News

VietOversea

World News

Business News

Car News

Computer News

Game News

USA News

Mobile News

Music News

Movies News

History

Thơ Ca

Sport News

Stranger Stories

Comedy Stories

Cooking Chat

Nice Pictures

Fashion

School

Travelling

Funny Videos

Canada Tin Hay

USA Tin Hay

VietBF Homepage Autoscroll

VietBF Video Autoscroll Portal

Home Classic

Home Classic Master Page



miro1510
R9 Tuyệt Đỉnh Tôn Sư
Release: 10-01-2021
Reputation: 13829


Profile:
Join Date: Oct 2014
Posts: 47,056
Last Update: None Rating: None
Attached Thumbnails
Click image for larger version

Name:	10.1.jpg
Views:	0
Size:	100.7 KB
ID:	1883005   Click image for larger version

Name:	10.2.jpg
Views:	0
Size:	113.4 KB
ID:	1883006   Click image for larger version

Name:	10.3.jpg
Views:	0
Size:	118.0 KB
ID:	1883007  

Click image for larger version

Name:	10.4.jpg
Views:	0
Size:	127.9 KB
ID:	1883008   Click image for larger version

Name:	10.5.jpg
Views:	0
Size:	129.0 KB
ID:	1883009   Click image for larger version

Name:	10.6.jpg
Views:	0
Size:	232.3 KB
ID:	1883010  

Click image for larger version

Name:	10.7.jpg
Views:	0
Size:	242.6 KB
ID:	1883011  
miro1510_is_offline
Thanks: 9
Thanked 2,092 Times in 1,931 Posts
Mentioned: 3 Post(s)
Tagged: 0 Thread(s)
Quoted: 8 Post(s)
Rep Power: 59
miro1510 Reputation Uy Tín Level 6
miro1510 Reputation Uy Tín Level 6miro1510 Reputation Uy Tín Level 6miro1510 Reputation Uy Tín Level 6miro1510 Reputation Uy Tín Level 6miro1510 Reputation Uy Tín Level 6miro1510 Reputation Uy Tín Level 6miro1510 Reputation Uy Tín Level 6miro1510 Reputation Uy Tín Level 6miro1510 Reputation Uy Tín Level 6miro1510 Reputation Uy Tín Level 6miro1510 Reputation Uy Tín Level 6miro1510 Reputation Uy Tín Level 6miro1510 Reputation Uy Tín Level 6miro1510 Reputation Uy Tín Level 6miro1510 Reputation Uy Tín Level 6miro1510 Reputation Uy Tín Level 6
Reply

User Tag List


Úc cấm thiếu niên dưới 16 tuổi dùng Facebook vì quá độc hại, Mỹ có lẽ tiếp bước? Cái chết bí ẩn của Tulku Hungkar Dorje tại Sài Gòn: Bàn tay Bắc Kinh và sự im lặng của Hà Nội Thương Tín qua đời : Đám Tang Lặng Lẽ Ở Phan Rang Và Hào Quang Vang Bóng
85.000 tấm visa bị xé bỏ: chân dung nước Mỹ thời truy bức di dân 48 Giờ Cùm Tay Trên Bầu Trời: Số Phận Bà Melissa Trần Và Bóng Đen Luật Di Trú Mỹ Từ Tử Thủ Đến Công Chức Xứ Người – Đời Lưu Vong Của Trung Tướng Ngô Quang Trưởng
Mùa Noel “Ông Già Định Ở Lại” – Góc Đời Riêng Của Vợ Chồng Tổng Thống Nguyễn Văn Thiệu Trump, Obamacare và bài trắc nghiệm đạo đức mang tên “Make America Great Again” Từ giọt nước sông Rio Grande đến bóng ma sụp đổ USMCA
Lá Cờ Vàng – Giấc Mơ Nhỏ Và Vận Mệnh Lớn Của Dân Tộc Những trùng hợp rợn người trong lịch sử nhân loại Những bí mật bên trong xác ướp Ba Đình
Dân kinh doanh trả giá đắt vì chính sách thuế của Cộng Sản Trăm năm bia đá cũng mòn, bia hám danh thì còn mãi Sài Gòn ‘bỏ phố’: Mặt bằng trăm triệu, đèn tắt và kỷ nguyên thu mình của người kinh doanh
Costco kiện thuế quan: Cú tát 2.000 USD vào lời hứa ‘năm sau’ của ông Trump 401k – IRA – IUL: Ba cái ‘hũ để dành’ ở Mỹ, xài trật là mất toi tuổi già Chi bộn tiền làm đẹp, giờ ôm rổ mỹ phẩm mà run: Nỗi hoang mang của khách Mailisa sau ngày thẩm mỹ viện tắt đèn
Cột điện gỗ Mỹ để: Nửa thế kỷ vẫn đứng vững ở miền Nam Việt Nam Việt Nam sau 50 năm: Quyền được tự hào và nghĩa vụ… tự chịu đựng Thất thủ trước mưa lũ: Khi bộ máy cứu nạn chỉ còn là những công điện trên giấy
Từ quán phở tị nạn đến tiệm ăn làn sóng mới Hai cái bắt tay lịch sử Nixon – Thiệu và bi kịch một đồng minh bị bỏ rơi Lũ đã dâng tới nóc nhà rồi, lệnh cứu hộ mới ký: 24 giờ vàng bị đánh cắp bởi hai chữ “chờ lệnh”
Việt Nam dưới chế độ cộng sản: Có thật đáng để tự hào? Từ thuyền nhân Việt Nam đến công tố viên hạ gục “Kẻ sát nhân Golden State” Mỹ chính thức “khai tử” đồng penny: Chia tay 1 cent sau 232 năm lặng lẽ trong túi áo người dân
Địa đạo Củ Chi: Huyền thoại tuyên truyền và sự thật bị chôn trong đất đỏ Saudi bắt tay đại gia AI Mỹ: canh bạc nghìn tỷ USD của Thái tử Mohammed bin Salman Walmart – “liều thuốc giải” cho cơn khủng hoảng chi phí sinh hoạt ở nước Mỹ
Trump khoe “thời hoàng kim” dưới mái vòm McDonald’s, trong khi người Mỹ vẫn ngộp vì tiền chợ tiền nhà Doanh nghiệp nhỏ nước Mỹ oằn mình dưới thuế quan Trump và cơn bão chi phí sinh hoạt Trump xoay sang “Plan B”: Giấc mơ làm nước Mỹ rẻ hơn và thực tế hóa đơn ngày một dày
Trump “ảo thuật” giá cả: nói lạm phát giảm, nhưng hóa đơn người Mỹ vẫn tăng Trump trong lâu đài mạ vàng: hứa cứu tầng lớp lao động, rồi lạc khỏi nỗi lo tiền chợ “No Kings” rầm rộ khắp nước Mỹ: Gần 7 triệu người xuống đường, khẳng định “Không có vua trong nền dân chủ”

 
Lên đầu Xuống dưới Lên 3000px Xuống 3000px

iPad Videos Portal Autoscroll

VietBF Music Portal Autoscroll

iPad News Portal Autoscroll

VietBF Homepage Autoscroll

VietBF Video Autoscroll Portal

USA News Autoscroll Portall

VietBF WORLD Autoscroll Portal

Home Classic

Super Widescreen

iPad World Portal Autoscroll

iPad USA Portal Autoscroll

Phim Bộ Online

Tin nóng nhất 24h qua

Tin nóng nhất 3 ngày qua

Tin nóng nhất 7 ngày qua

Tin nóng nhất 30 ngày qua

Albums

Total Videos Online
Lên đầu Xuống dưới Lên 3000px Xuống 3000px

Tranh luận sôi nổi nhất 7 ngày qua

Tranh luận sôi nổi nhất 14 ngày qua

Tranh luận sôi nổi nhất 30 ngày qua

10.000 Tin mới nhất

Tin tức Hoa Kỳ

Tin tức Công nghệ
Lên đầu Xuống dưới Lên 3000px Xuống 3000px

Super News

School Cooking Traveling Portal

Enter Portal

Series Shows and Movies Online

Home Classic Master Page

Donation Ủng hộ $3 cho VietBF
Lên đầu Xuống dưới Lên 3000px Xuống 3000px
Diễn Đàn Người Việt Hải Ngoại. Tự do ngôn luận, an toàn và uy tín. Vì một tương lai tươi đẹp cho các thế hệ Việt Nam hãy ghé thăm chúng tôi, hãy tâm sự với chúng tôi mỗi ngày, mỗi giờ và mỗi giây phút có thể. VietBF.Com Xin cám ơn các bạn, chúc tất cả các bạn vui vẻ và gặp nhiều may mắn.
Welcome to Vietnamese American Community, Vietnamese European, Canadian, Australian Forum, Vietnamese Overseas Forum. Freedom of speech, safety and prestige. For a beautiful future for Vietnamese generations, please visit us, talk to us every day, every hour and every moment possible. VietBF.Com Thank you all and good luck.

Lên đầu Xuống dưới Lên 3000px Xuống 3000px

All times are GMT. The time now is 20:51.
VietBF - Vietnamese Best Forum Copyright ©2005 - 2025
User Alert System provided by Advanced User Tagging (Pro) - vBulletin Mods & Addons Copyright © 2025 DragonByte Technologies Ltd.
Log Out Unregistered

Page generated in 0.10736 seconds with 15 queries