HOME-Au
HOME-Au
24h
24h
USA
USA
GOP
GOP
Phim Bộ
Phim Bộ
Videoauto
VIDEO-Au
Home Classic
Home Classic
Donation
Donation
News Book
News Book
News 50
News 50
worldautoscroll
WORLD-Au
Breaking
Breaking
 

Go Back   VietBF > Other News|Tin Khác > Mobile News|Tin Di Động


Reply
 
Thread Tools
  #1  
Old  Default iPhone ngày càng đẹp, bền hơn nhờ lý do này
Apple đã công bố những nguyên tố chính khiến những sản phẩm smartphone ngày càng hoàn thiện hơn. Theo đó, những thứ này đều được ghi trong phần bằng sáng chế. Sự tỉ mỉ trong hoàn thiện sản phẩm đã giúp Apple được lòng người dùng hơn.

Sắp tới, Apple có thể làm cho kính ở mặt trước của iPhone hoặc iPad thậm chí còn mạnh hơn và mỏng hơn, bằng cách sử dụng một cấu trúc hỗ trợ đặc biệt với các cạnh kính.

Điện thoại thông minh như iPhone và các thiết bị di động khác thường sử dụng các tấm kính phía trước màn hình. Lớp kính này có nhiệm vụ chính là bảo vệ màn hình mỏng manh khỏi va đập và trầy xước, đồng thời là một phần thiết kế bên ngoài của chính thiết bị. Sự phát triển không ngừng của thiết kế thiết bị phụ thuộc nhiều vào lớp kính cong cho mặt trước, điều này đưa ra những thách thức thiết kế không hề dễ dàng.

iPhone 12 Pro.

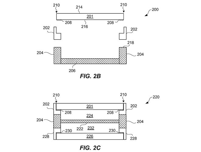
Trong một bằng sáng chế do Văn phòng Thương hiệu và Bằng sáng chế Mỹ cấp vào thứ Ba cho thấy Apple đang nỗ lực giúp iPhone tương lai giảm tối đa độ dày của mặt kính trên màn hình. Giải pháp của “Nhà Táo” là sử dụng kết cấu mới cho lớp kính xung quanh mép của mặt kính. Phần kính này đóng vai trò trung gian giữa khung và lớp kính mỏng.

Ví dụ, trên iPhone 12, Apple có thể tạo ra loại kính có lớp phủ thủy tinh Ceramic Shield để bảo vệ màn hình mỏng, nhưng sẽ sử dụng kết cấu kính hoàn toàn khác cho khu vực viền.

Hình ảnh trong bằng sáng chế.

Theo “Táo Khuyết”, cấu trúc kính có thể được đúc liền kề với vỏ kính, để tạo thành một "giao diện không có khe hở". Đồng thời, cấu trúc hỗ trợ có thể có các bộ phận bổ sung được tích hợp, có thể hỗ trợ việc lắp mặt kính một cách hoàn hảo.

Bằng sáng chế liệt kê các nhà phát minh là David Pakula, Stephen Brian Lynch, Richard Hung Minh Dinh, Tang Yew Tan và Lee Hua Tan. Ban đầu, bằng sáng chế được nộp vào ngày 13/1/2020.

Hình ảnh trong bằng sáng chế.

Số lượng bằng sáng chế của Apple được cấp phép là vô cùng lớn. Mặc dù sự tồn tại của bằng sáng chế cho thấy các lĩnh vực quan tâm và các nỗ lực nghiên cứu và phát triển của Apple nhưng vẫn không đảm bảo những ý tưởng đó sẽ xuất hiện trong một sản phẩm hoặc dịch vụ trong tương lai. Bởi lẽ, “ông trùm” công nghệ luôn có những bước tiến chắc chắn và khôn ngoan với mỗi công nghệ mới, đảm bảo người dùng sở hữu những thiết bị cao cấp và đáng tiền nhất.

VietBF Sưu Tầm
VIETBF Diễn Đàn Hay Nhất Của Người Việt Nam

HOT NEWS 24h

HOT 3 Days

NEWS 3 Days

HOT 7 Days

NEWS 7 Days

HOME

Breaking News

VietOversea

World News

Business News

Car News

Computer News

Game News

USA News

Mobile News

Music News

Movies News

History

Thơ Ca

Sport News

Stranger Stories

Comedy Stories

Cooking Chat

Nice Pictures

Fashion

School

Travelling

Funny Videos

Canada Tin Hay

USA Tin Hay

VietBF Homepage Autoscroll

VietBF Video Autoscroll Portal

Home Classic

Home Classic Master Page

VietBF iPad Music Portal

Tin nóng nhất 50h qua

Phim Bộ Online

Phim Bộ



miro1510
R9 Tuyệt Đỉnh Tôn Sư
Release: 05-26-2021
Reputation: 13837


Profile:
Join Date: Oct 2014
Posts: 47,133
Last Update: None Rating: None
Attached Thumbnails
Click image for larger version

Name:	7.1.jpg
Views:	0
Size:	168.2 KB
ID:	1798056   Click image for larger version

Name:	7.2.jpg
Views:	0
Size:	63.1 KB
ID:	1798057   Click image for larger version

Name:	7.3.jpg
Views:	0
Size:	45.4 KB
ID:	1798058  

miro1510_is_offline
Thanks: 9
Thanked 2,096 Times in 1,935 Posts
Mentioned: 3 Post(s)
Tagged: 0 Thread(s)
Quoted: 8 Post(s)
Rep Power: 59
miro1510 Reputation Uy Tín Level 6
miro1510 Reputation Uy Tín Level 6miro1510 Reputation Uy Tín Level 6miro1510 Reputation Uy Tín Level 6miro1510 Reputation Uy Tín Level 6miro1510 Reputation Uy Tín Level 6miro1510 Reputation Uy Tín Level 6miro1510 Reputation Uy Tín Level 6miro1510 Reputation Uy Tín Level 6miro1510 Reputation Uy Tín Level 6miro1510 Reputation Uy Tín Level 6miro1510 Reputation Uy Tín Level 6miro1510 Reputation Uy Tín Level 6miro1510 Reputation Uy Tín Level 6miro1510 Reputation Uy Tín Level 6miro1510 Reputation Uy Tín Level 6miro1510 Reputation Uy Tín Level 6
Reply

User Tag List


“Siêu đẹp” bí mật trong Himalaya: Dân Việt Nam sẽ chết không còn chỗ chôn? Ngoại trưởng trẻ nhất Trung Quốc và cú rơi không lời giải: Thăng như tên lửa, mất tích như bóng ma Hơn trăm người nhập viện bị ngộ độc, không biết là vì lý do gì, hoá ra là ....
“Bóp nghẹt không tiếng súng”: Việt Nam đang thua vì Trung Quốc quá mạnh, hay vì ta tự làm mình yếu? 10 khác biệt “đinh” giữa người Mỹ & người Việt Cộng: đọc thì cười, ngẫm lại… chạnh lòng “Mùa đỏ” của Cộng Sản bị loại khỏi giải Oscar
Thanh niên Việt mới sang Mỹ 9 tháng và một câu hỏi nhói lòng: “Bám trụ hay quay về?” Sony rút khỏi Huệ Châu, TQ, 30.000 người mất việc: khi “đèn nhà máy tắt” kéo cả một thành phố chao đảo Thảm sát Bondi Beach: hai cha con bị nghi theo ISIS, chuyến đi Mindanao và câu hỏi nhức nhối về “lỗ hổng” an ninh Úc
Hà Nội đang rất mệt – nhưng tôi vẫn không đành rời đi Chuyện giang hồ Á Châu và những cú sốc văn hoá Người Đàn Bà Gánh Sứ Mệnh Đến Hơi Thở Cuối Cùng
Putin Sụp Kiểu Liên Xô Hay Chỉ Là Giấc Mơ Của Phương Tây? “Con kiến kiện củ khoai”: Dân Phú Yên có thật sự kiện được thủy điện xả lũ? Trump Đánh Thuế, Chuỗi Cung Ứng Đại Di Cư: Việt Nam Đang Lên Đời Hay Chỉ Là Trạm Trung Chuyển Rẻ Tiền?
VIỆT NAM SẮP HÓNG HAY ĐANG ẢO GIÁC TẬP THỂ? Macron dọa đánh thuế hàng Trung Quốc: Châu Âu giật mình trước thâm hụt 300 tỷ euro Chiến lược An ninh Quốc gia mới của Trump: Khi ‘Nước Mỹ trên hết’ hóa thành bản tuyên ngôn cá nhân
Vì sao ngày xưa vua miễn thuế khi bão lụt, còn ngày nay thì không? Phép tính lạnh lùng của quyền lực Lindsey Halligan: 63 Ngày Hỗn Loạn Ở Viện Công Tố Virginia Việt Cộng sẽ tịch thu toàn bộ tiền của Việt kiều gửi trong ngân hàng?
Từ ‘Sổ Sinh Tử’ Đến Những Tấm Bưu Thiếp Tự Do: Lời Kêu Gọi Từ Buổi Tưởng Niệm 50 Năm Quốc Nạn 1975–2025 Paris By Night Lặng Im: Khi Đế Chế Giải Trí Chạm Đáy Khủng Hoảng Địa Ngục Lửa Trên Cao Ốc: Thảm Họa Wang Fuk Court Rúng Động Hồng Kông, ít nhất 146 người chết, khoảng 40 người vẫn còn mất tích
Ván Cờ Hòa Bình Của Trump: Ukraine Giữa Thể Diện Dân Tộc, Bom Đạn Và Lính Đánh Thuê Toàn Cầu Thảm Sát Trong Tiệc Sinh Nhật Ở California: Khi Bữa Tiệc Gia Đình Hóa Chiến Trường Đẫm Máu Vì sao Paris By Night và nghệ sĩ hải ngoại đồng loạt im lặng trước chuyện chống Cộng?
Nghề nail người Việt giữa cơn bão 2025: khi ghế trống nhiều hơn khách Giáng sinh kiểu Mỹ 2025: Rạp phim cháy vé, gấu bông biết nói nhảm và nỗi băn khoăn “có nên cho con tiền lúc mình còn sống?” Bitcoin lao dốc, vàng – bạc lập kỷ lục: cơn “sốc Nhật Bản” đang dọa thổi bay cú rally cuối năm của Phố Wall
Black Friday 2025: Người Mỹ mua nhiều mà được ít – thuế Trump và “K-đồ thị” xé đôi túi tiền Chống tham nhũng làm nghẽn “cỗ máy chiến tranh”: Doanh thu quốc phòng Trung Quốc bất ngờ lao dốc Cựu tiếp viên hàng không và “luật ngầm” 4 triệu – 7 triệu: đường dây mại dâm Tài Nguyên Fortuner II lộ sáng
Quân Lực VNCH – Ai còn nhớ, ai đã quên: TQLC Phúc Yên Nguyễn Xuân Phúc và một “tổn thất” của Khóa 16 Kinh tế Trung Quốc đang tan rã từ bên trong: “phép màu” chỉ là một phim trường khổng lồ Giữa Nước Mỹ Chia Rẽ: Tâm Sự Của Một Người Nhập Cư
Thuế quan “giấu mặt” gõ cửa mùa lễ: Mua hàng ngoại xong… nhận thêm hóa đơn “Đừng gọi tôi Việt kiều”: từ một chữ Kiều đến vết xước trong lòng người xa xứ “Bỏ thuế nhà đất” và cơn bão tranh luận: Mơ ước của chủ nhà, nỗi lo của trường học
Không cuồng Cộng Hòa, không cuồng Dân Chủ: chỉ đau với nước Mỹ hôm nay David Hoàng Nguyễn (26 tuổi) – Hạ sĩ quan Không quân Hoa Kỳ gốc Việt qua đời Ông Phan Văn Giang điều động hàng chục ngàn bộ đội đặc công nhằm lật đổ phe cánh ông Tô Lâm
Thất nghiệp tràn lan tại Thành Hồ, dắt chó tìm việc 3 ngày không thành Việt kiều dởm làm màu và Việt kiều “chân chính”: khác nhau ở cái nhìn, không ở hộ chiếu Ông Trump quyết trục xuất 20 triệu người khỏi Mỹ trong năm tới, liệu có thành công?
Chiến lược an ninh mới của Trump: Hạ giọng với Trung Quốc, đặt cược tất tay vào kinh tế và lá bài Đài Loan Kho ảnh mới từ dinh thự Jeffrey Epstein: Bóng dáng giới quyền lực và cuộc đấu Trump – Quốc hội Mỹ Cây chổi cho Donald Trump
Nước Mỹ Trump đang kéo châu Âu đi đâu? Nền kinh tế chữ K: 79 ngàn tỷ đô bị “ăn cắp” khỏi túi người lao động Mỹ Khi Trump “đại tu” FEMA và tấn công các cơ quan độc lập
Ukraine đánh thẳng vào “cây ATM năng lượng” của Nga, NATO cảnh báo: chiến tranh đã ở ngay trước cửa Tyler Robinson lần đầu trực tiếp xuất hiện trước tòa: Vụ ám sát Charlie Kirk và câu hỏi về thù hận chính trị ở nước Mỹ Chính quyền Trump chính thức mở trang mạng để bán "thẻ vàng định cư"
Ba người Việt bị ICE bắt ở New Orleans: Từ giấc mơ Mỹ đến nguy cơ bị trục xuất Hai anh em sinh đôi trở về Việt Nam tìm mẹ ruột sau 24 năm và người mẹ Mỹ mang trái tim Bồ Tát Cuối năm phố tắt đèn: Cơn sóng trả mặt bằng và tiếng thở dài của tiểu thương
Tin đồn ông Nguyễn Xuân Phúc xin qua Mỹ định cư: Tấm thẻ đảng và cánh cửa di trú Hoa Kỳ Netflix tung đòn 28 USD/cổ phiếu: Trận quyết đấu cuối cùng của ‘chiến tranh streaming’? Cơn sốc 50.000 USD: Mua xe mới ở Mỹ sắp thành xa xỉ phẩm?
Làn sóng hủy show Nhật Bản ở Trung Quốc: Khi chính trị tắt đèn sân khấu Mãn kinh – chương đời bị bỏ quên của một nửa nhân loại Cuộc họp nội các thật hỗn loạn của ông Trump
Miền Trung chết đuối trong hai chữ “đúng quy trình” Nhật Bản thời Takaichi: Khi Tokyo thôi “hiền lành” và trở thành đối trọng cứng rắn với Bắc Kinh Từ lũ dữ miền Trung đến “Công ước Hà Nội”: Khi khế ước xã hội bị xé bỏ
Phú Yên không còn quan tài: Tiếng khóc giữa đại hồng thủy và những chuyến xe chở tình người Mafia công nghệ 4.0: Từ vụ Alice Guo đến cuộc cạnh tranh quyền lực ngầm ở Đông Nam Á Người đàn ông mang trạm sạc đến nối lại tin tức giữa vùng lũ
“Lũ nhân tạo” ở Việt Nam: Khi dòng sông bị bẻ cong vì thủy điện Đêm 19-11 và tiếng kêu giữa lũ dữ: Khi “đúng quy trình” nhấn chìm niềm tin của dân Lời nói dối “người Mỹ không làm việc này” và cái giá của cả một quốc gia
Đức dựng lại “đạo quân mạnh nhất châu Âu”: Tham vọng của Merz và nỗi lo nghĩa vụ quân sự Thích Trí Quang: Từ “vì đạo pháp và dân tộc” đến 44 năm im lặng Khi Bắc Kinh dọa “chặt đầu” bà đầm thép Sanae Takaichi
Trump hô tội “phản loạn, xử tử hình” 6 dân biểu Dân Chủ: chính trường Mỹ trượt sát lằn ranh bạo lực Ukraine giữa gọng kìm: Kế hoạch hòa bình của Trump và bóng ma drone Rubicon trên bầu trời chiến tranh Kinh tế Mỹ “chạy hết ga, nhưng ghế trống”: Nỗi lo suy thoái không việc làm dưới thời Trump
Hai thẩm phán liên bang chặn lệnh Trump “bóp cổ” ngân sách cứu trợ thiên tai để ép bỏ DEI và hỗ trợ di trú Đêm lũ cuốn trôi Camp Mystic: từ bức vẽ ám ảnh của bé Lulu đến 27 sinh mạng nhỏ bị bỏ rơi Từ cái chết Pamela Genini đến bóng tối đè lên phụ nữ Ý dưới thời Giorgia Meloni

 
Lên đầu Xuống dưới Lên 3000px Xuống 3000px

iPad Videos Portal Autoscroll

VietBF Music Portal Autoscroll

iPad News Portal Autoscroll

VietBF Homepage Autoscroll

VietBF Video Autoscroll Portal

USA News Autoscroll Portall

VietBF WORLD Autoscroll Portal

Home Classic

Super Widescreen

iPad World Portal Autoscroll

iPad USA Portal Autoscroll

Phim Bộ Online

Tin nóng nhất 24h qua

Tin nóng nhất 3 ngày qua

Tin nóng nhất 7 ngày qua

Tin nóng nhất 30 ngày qua

Albums

Total Videos Online
Lên đầu Xuống dưới Lên 3000px Xuống 3000px

Tranh luận sôi nổi nhất 7 ngày qua

Tranh luận sôi nổi nhất 14 ngày qua

Tranh luận sôi nổi nhất 30 ngày qua

10.000 Tin mới nhất

Tin tức Hoa Kỳ

Tin tức Công nghệ
Lên đầu Xuống dưới Lên 3000px Xuống 3000px

Super News

School Cooking Traveling Portal

Enter Portal

Series Shows and Movies Online

Home Classic Master Page

Donation Ủng hộ $3 cho VietBF
Lên đầu Xuống dưới Lên 3000px Xuống 3000px
Diễn Đàn Người Việt Hải Ngoại. Tự do ngôn luận, an toàn và uy tín. Vì một tương lai tươi đẹp cho các thế hệ Việt Nam hãy ghé thăm chúng tôi, hãy tâm sự với chúng tôi mỗi ngày, mỗi giờ và mỗi giây phút có thể. VietBF.Com Xin cám ơn các bạn, chúc tất cả các bạn vui vẻ và gặp nhiều may mắn.
Welcome to Vietnamese American Community, Vietnamese European, Canadian, Australian Forum, Vietnamese Overseas Forum. Freedom of speech, safety and prestige. For a beautiful future for Vietnamese generations, please visit us, talk to us every day, every hour and every moment possible. VietBF.Com Thank you all and good luck.

Lên đầu Xuống dưới Lên 3000px Xuống 3000px

All times are GMT. The time now is 17:22.
VietBF - Vietnamese Best Forum Copyright ©2005 - 2025
User Alert System provided by Advanced User Tagging (Pro) - vBulletin Mods & Addons Copyright © 2025 DragonByte Technologies Ltd.
Log Out Unregistered

Page generated in 0.12775 seconds with 15 queries