HOME-Au
HOME-Au
24h
24h
USA
USA
GOP
GOP
Phim Bộ
Phim Bộ
Videoauto
VIDEO-Au
Donation
Donation
News Book
News Book
News 50
News 50
worldautoscroll
WORLD-Au
Breaking
Breaking
 

Go Back   VietBF > Other > Mobile News|Tin Di Động


Reply
Thread Tools
 
 
  #1  
Old  Default Vuốt ở cạnh là cách dùng iPhone theo kiểu mới được Apple đăng ký trong bằng sáng chế
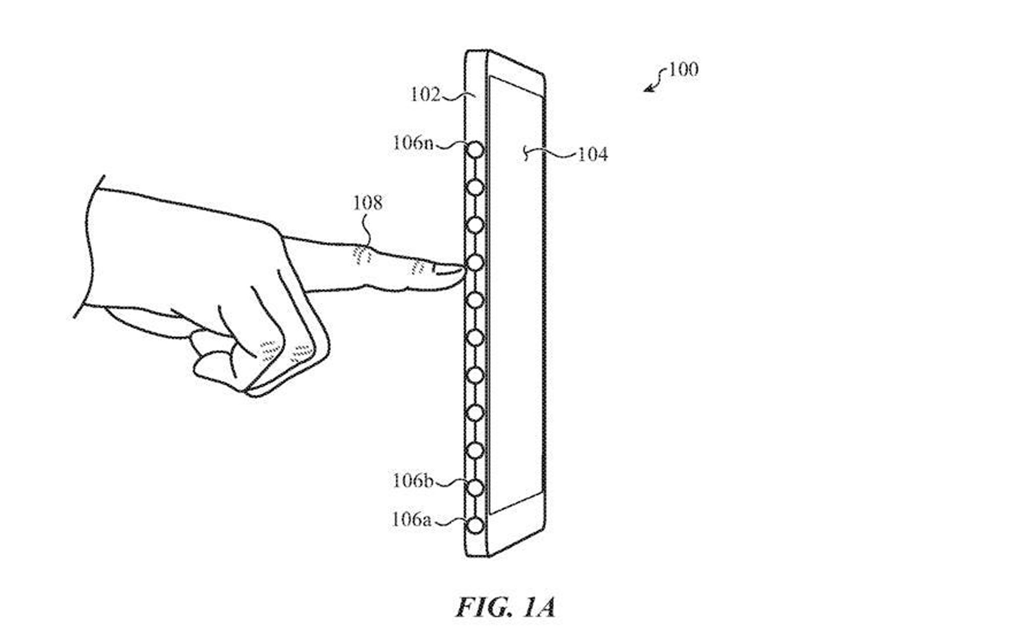
Theo một bằng sáng chế phát hiện bởi Palently Apple. IPhone trong tương lai có thể được sử dụng theo một cách mới mẻ như có thể vuốt cảm ứng ở cạnh bên. Cảm biến này sẽ giúp người dùng cuộn trang mà không cần dùng ngón tay thao tác trên màn hình như cảm ứng hiện tại.

Thay vì sử dụng iPhone như cách truyền thống hàng thập kỷ nay, có khả năng Apple sẽ đầu tư nguồn lực để tìm ra các cách thức sử dụng iPhone mới mẻ, sáng tạo hơn. Việc thực hiện vuốt để cuộn trang ở cảm biến cạnh bên, có thể hạn chế tình trạng ngón tay chiếm tầm nhìn màn hình cũng như bớt dấu vân tay trên màn hình.



Có thể ý tưởng này sẽ được Apple Pencil ứng dụng trước thông qua tính năng Force Touch. Khi đó nếu dùng bút ấn mạnh màn hình sẽ phản ứng như chuyển sang tối màu, tô màu hoặc vẽ nét dày. Apple Pencil hiện chỉ hoạt động với iPad nên không rõ liệu bằng sáng chế này có dẫn đến khả năng trong tương lai nó sẽ tương thích với iPhone hay không.

Theo bằng sáng chế, cách thức điều khiển iPhone mới này sẽ dùng nguồn sáng laser như là công nghệ VCSEL laser chiếu ánh sáng vào ống dẫn sóng. Ở tại một vị trí phát hiện tín hiệu nào đó, khi hành động chạm hoặc có lực tác động vào cảm biến, hiện tượng biến đổi ánh sáng sẽ xảy ra và được đưa vào ống dẫn sóng, tín hiệu được ghi nhận và khi đó điện thoại sẽ phản hồi. Tức là cách tương tác với điện thoại cảm ứng sẽ không còn bị hạn chế, kể cả đeo găng tay điện thoại cũng nhận được tín hiệu thông qua cảm biến diode laser.

Trước ý tưởng của Apple đã có nhiều thương hiệu di động sử dụng cạnh bên điện thoại để tương tác với thiết bị. Chẳng hạn như HTC đã từng làm cảm biến lực ở cạnh hay Sony có thể hiện thị menu bằng cách dùng các cử chỉ cạnh bên.
Dịch trang: EnglishEnglish DeutschDeutsch FrançaisFrançais EspañolEspañol ItalianoItaliano PortuguêsPortuguês
NorskNorsk NederlandsNederlands DanskDansk SuomiSuomi PolskiPolski ČeštinaČeština РусскийРусский
日本語日本語 한국어한국어 中文(简体)中文(简体) 中文(繁體)中文(繁體) MagyarMagyar TürkçeTürkçe
العربيةالعربية ไทยไทย LatinaLatina हिन्दीहिन्दी Bahasa IndonesiaBahasa Indonesia Bahasa MelayuBahasa Melayu
VIETBF Hybrid Community Content Hub

HOT NEWS 24h

HOT 3 Days

NEWS 3 Days

HOT 7 Days

NEWS 7 Days

HOME

Breaking News

VietOversea

World News

Business News

Car News

Computer News

Game News

USA News

Mobile News

Music News

Movies News

History

Thơ Ca

Sport News

Stranger Stories

Comedy Stories

Cooking Chat

Nice Pictures

Fashion

School

Travelling

Funny Videos

Canada Tin Hay

USA Tin Hay

VietBF Homepage Autoscroll

VietBF Video Autoscroll Portal

Video Classic Master

iPad News Portal

VietBF iPad Music Portal

Tin nóng nhất 50h qua

Phim Bộ Online

Phim Bộ



nguoiduatinabc
R10 Vô Địch Thiên Hạ
Release: 07-26-2022
Reputation: 22230


Profile:
Join Date: Apr 2016
Posts: 83,769
Last Update: None Rating: None
Attached Thumbnails
Click image for larger version

Name:	6065779_bang-sang-che-Apple.jpg
Views:	0
Size:	102.9 KB
ID:	2087992  
nguoiduatinabc is_online_now
Thanks: 168
Thanked 5,450 Times in 4,423 Posts
Mentioned: 4 Post(s)
Tagged: 0 Thread(s)
Quoted: 29 Post(s)
Rep Power: 94
nguoiduatinabc Reputation Uy Tín Level 7nguoiduatinabc Reputation Uy Tín Level 7
nguoiduatinabc Reputation Uy Tín Level 7nguoiduatinabc Reputation Uy Tín Level 7nguoiduatinabc Reputation Uy Tín Level 7nguoiduatinabc Reputation Uy Tín Level 7nguoiduatinabc Reputation Uy Tín Level 7nguoiduatinabc Reputation Uy Tín Level 7nguoiduatinabc Reputation Uy Tín Level 7nguoiduatinabc Reputation Uy Tín Level 7nguoiduatinabc Reputation Uy Tín Level 7nguoiduatinabc Reputation Uy Tín Level 7nguoiduatinabc Reputation Uy Tín Level 7nguoiduatinabc Reputation Uy Tín Level 7nguoiduatinabc Reputation Uy Tín Level 7
Dịch trang: EnglishEnglish DeutschDeutsch FrançaisFrançais EspañolEspañol ItalianoItaliano PortuguêsPortuguês
NorskNorsk NederlandsNederlands DanskDansk SuomiSuomi PolskiPolski ČeštinaČeština РусскийРусский
日本語日本語 한국어한국어 中文(简体)中文(简体) 中文(繁體)中文(繁體) MagyarMagyar TürkçeTürkçe
العربيةالعربية ไทยไทย LatinaLatina हिन्दीहिन्दी Bahasa IndonesiaBahasa Indonesia Bahasa MelayuBahasa Melayu
Reply

User Tag List



 

iPad Videos Portal Autoscroll

VietBF Music Portal Autoscroll

iPad News Portal Autoscroll

VietBF Homepage Autoscroll

VietBF Video Autoscroll Portal

USA News Autoscroll Portall

VietBF WORLD Autoscroll Portal

Video Classic Master Page

Super Widescreen

iPad World Portal Autoscroll

iPad USA Portal Autoscroll

Phim Bộ Online
Lên đầu Xuống dưới Lên 3000px Xuống 3000px

Tin nóng nhất 24h qua

Tin nóng nhất 3 ngày qua

Tin nóng nhất 7 ngày qua

Tin nóng nhất 30 ngày qua

Albums

Total Videos Online

Tranh luận sôi nổi nhất 7 ngày qua

Tranh luận sôi nổi nhất 14 ngày qua

Tranh luận sôi nổi nhất 30 ngày qua

10.000 Tin mới nhất

Tin tức Hoa Kỳ

Tin tức Công nghệ
Lên đầu Xuống dưới Lên 3000px Xuống 3000px

Duo Series Movies Portal

Duo Music Portal

Phim Bộ

Tỷ Giá

Thời Tiết

Tin Nóng Nhất 50h

Super News

School Cooking Traveling Portal

Enter Portal

Series Shows and Movies Online

Home Classic Master Page

Donation Ủng hộ $3 cho VietBF
Lên đầu Xuống dưới Lên 3000px Xuống 3000px
Diễn Đàn Người Việt Hải Ngoại. Tự do ngôn luận, an toàn và uy tín. Vì một tương lai tươi đẹp cho các thế hệ Việt Nam hãy ghé thăm chúng tôi, hãy tâm sự với chúng tôi mỗi ngày, mỗi giờ và mỗi giây phút có thể. VietBF.Com Xin cám ơn các bạn, chúc tất cả các bạn vui vẻ và gặp nhiều may mắn.
Welcome to Vietnamese American Community, Vietnamese European, Canadian, Australian Forum, Vietnamese Overseas Forum. Freedom of speech, safety and prestige. For a beautiful future for Vietnamese generations, please visit us, talk to us every day, every hour and every moment possible. VietBF.Com Thank you all and good luck.

Lên đầu Xuống dưới Lên 3000px Xuống 3000px

All times are GMT. The time now is 04:05.
VietBF - Vietnamese Best Forum Copyright ©2005 - 2026
User Alert System provided by Advanced User Tagging (Pro) - vBulletin Mods & Addons Copyright © 2026 DragonByte Technologies Ltd.
Log Out Unregistered

Page generated in 0.13093 seconds with 15 queries