HOME-Au
HOME-Au
24h
24h
USA
USA
GOP
GOP
Phim Bộ
Phim Bộ
Videoauto
VIDEO-Au
Home Classic
Home Classic
Donation
Donation
News Book
News Book
News 50
News 50
worldautoscroll
WORLD-Au
Breaking
Breaking
 

Go Back   VietBF > Others (Closed Forums) > Archive - Old News 2013 (closed)

 
 
Thread Tools
Default iPhone tương lai có màn hình siêu ấn tượng
Old 03-29-2013   #1
tonny_thuong
R10 Vô Địch Thiên Hạ
 
tonny_thuong's Avatar
 
Join Date: Feb 2008
Posts: 61,375
Thanks: 0
Thanked 0 Times in 0 Posts
Mentioned: 0 Post(s)
Tagged: 0 Thread(s)
Quoted: 0 Post(s)
Rep Power: 79
tonny_thuong Reputation Uy Tín Level 1tonny_thuong Reputation Uy Tín Level 1tonny_thuong Reputation Uy Tín Level 1
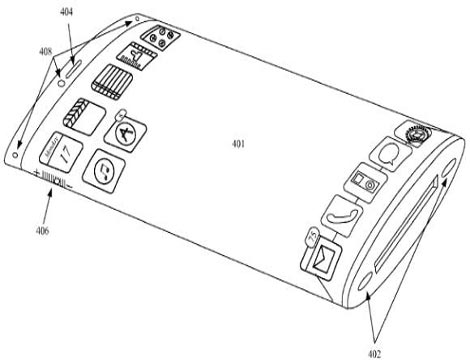
- Trong khi chúng ta đang chờ đợi thế hệ điện thoại với màn hình dẻocủa Samsung ra mắt thì Apple có lẽ cũng kịp tung ra điện thoại màn hìnhdẻo bọc quanh.

Trang mạng Apple Insider mới đưa tin về kế hoạch ra mắt màn hình dẻo cùng thiết bị trong suốt của Apple, và đây có thể là thiết kế mới cho thế hệ tiếp sau của iPhone.

Thực tế, nó miêu tả một chiếc điện thoại với 2 màn hình dẻo cùng làm việc. Thân máy làm bằng kính, có thể sử dụng màn hình AMOLED, bao quanh thiết bị.




Thiết kế tương lai của điện thoại iPhone?

Bằng sáng chế cho ý tưởng này được công nhận năm 2011 và đây không phải lần đầu tiên Apple thể hiện sự quan tâm của mình với công nghệ màn hình dẻo.

Đây cũng là công nghệ mà mọi người hi vọng có thể sẽ thấy trên Apple iWatch. Tuy nhiên, bằng sáng chế là một chuyện, còn thực tế trên sản phẩm lại là một vấn đề khác. Không ai có thể đảm bảo Apple sẽ cho ra mắt chiếc điện thoại với màn hình tròn, bao bọc quanh máy.

theo kienthuc
tonny_thuong_is_offline  
Attached Thumbnails
Click image for larger version

Name:	1.jpg
Views:	17
Size:	21.1 KB
ID:	455016  
Old 03-30-2013   #2
jojolotus
R9 Tuyệt Đỉnh Tôn Sư
 
jojolotus's Avatar
 
Join Date: Dec 2008
Posts: 41,760
Thanks: 0
Thanked 0 Times in 0 Posts
Mentioned: 0 Post(s)
Tagged: 0 Thread(s)
Quoted: 0 Post(s)
Rep Power: 58
jojolotus Reputation Uy Tín Level 1jojolotus Reputation Uy Tín Level 1
Default Lộ 'tin mật' màn hình iPhone tương lai

Trong khi chúng ta đang chờ đợi thế hệ điện thoại với màn hình dẻo của Samsung ra mắt, thì Apple có lẽ cũng kịp tung ra điện thoại màn hình dẻo bọc quanh.

Trang mạng Apple Insider mới đưa tin về kế hoạch ra mắt màn hình dẻo cùng thiết bị trong suốt của Apple, và đây có thể là thiết kế mới cho thế hệ tiếp sau của iPhone.



Thiết kế tương lai của điện thoại iPhone?

Thực tế, nó miêu tả một chiếc điện thoại với 2 màn hình dẻo cùng làm việc. Thân máy làm bằng kính, có thể sử dụng màn hình AMOLED, bao quanh thiết bị.

Bằng sáng chế cho ý tưởng này được công nhận năm 2011, và đây không phải lần đầu tiên Apple thể hiện sự quan tâm của mình với công nghệ màn hình dẻo.

Đây cũng là công nghệ mà mọi người hy vọng có thể sẽ thấy trên Apple iWatch. Tuy nhiên, bằng sáng chế là một chuyện, còn thực tế trên sản phẩm lại là một vấn đề khác. Không ai có thể đảm bảo Apple sẽ cho ra mắt chiếc điện thoại với màn hình tròn, bao bọc quanh máy.

Theo Kiến thức
jojolotus_is_offline  
Attached Thumbnails
Click image for larger version

Name:	avatar.jpg
Views:	9
Size:	4.1 KB
ID:	455324  
 

Tags
ấn tượng, apple, iphone, màn hình, màn hình dẻo
User Tag List


Lá Cờ Vàng – Giấc Mơ Nhỏ Và Vận Mệnh Lớn Của Dân Tộc Những trùng hợp rợn người trong lịch sử nhân loại Những bí mật bên trong xác ướp Ba Đình
Dân kinh doanh trả giá đắt vì chính sách thuế của Cộng Sản Trăm năm bia đá cũng mòn, bia hám danh thì còn mãi Sài Gòn ‘bỏ phố’: Mặt bằng trăm triệu, đèn tắt và kỷ nguyên thu mình của người kinh doanh
Costco kiện thuế quan: Cú tát 2.000 USD vào lời hứa ‘năm sau’ của ông Trump 401k – IRA – IUL: Ba cái ‘hũ để dành’ ở Mỹ, xài trật là mất toi tuổi già Chi bộn tiền làm đẹp, giờ ôm rổ mỹ phẩm mà run: Nỗi hoang mang của khách Mailisa sau ngày thẩm mỹ viện tắt đèn
Cột điện gỗ Mỹ để: Nửa thế kỷ vẫn đứng vững ở miền Nam Việt Nam Việt Nam sau 50 năm: Quyền được tự hào và nghĩa vụ… tự chịu đựng Thất thủ trước mưa lũ: Khi bộ máy cứu nạn chỉ còn là những công điện trên giấy
Từ quán phở tị nạn đến tiệm ăn làn sóng mới Hai cái bắt tay lịch sử Nixon – Thiệu và bi kịch một đồng minh bị bỏ rơi Lũ đã dâng tới nóc nhà rồi, lệnh cứu hộ mới ký: 24 giờ vàng bị đánh cắp bởi hai chữ “chờ lệnh”
Việt Nam dưới chế độ cộng sản: Có thật đáng để tự hào? Từ thuyền nhân Việt Nam đến công tố viên hạ gục “Kẻ sát nhân Golden State” Mỹ chính thức “khai tử” đồng penny: Chia tay 1 cent sau 232 năm lặng lẽ trong túi áo người dân
Địa đạo Củ Chi: Huyền thoại tuyên truyền và sự thật bị chôn trong đất đỏ Saudi bắt tay đại gia AI Mỹ: canh bạc nghìn tỷ USD của Thái tử Mohammed bin Salman Walmart – “liều thuốc giải” cho cơn khủng hoảng chi phí sinh hoạt ở nước Mỹ
Trump khoe “thời hoàng kim” dưới mái vòm McDonald’s, trong khi người Mỹ vẫn ngộp vì tiền chợ tiền nhà Doanh nghiệp nhỏ nước Mỹ oằn mình dưới thuế quan Trump và cơn bão chi phí sinh hoạt Trump xoay sang “Plan B”: Giấc mơ làm nước Mỹ rẻ hơn và thực tế hóa đơn ngày một dày
Trump “ảo thuật” giá cả: nói lạm phát giảm, nhưng hóa đơn người Mỹ vẫn tăng Trump trong lâu đài mạ vàng: hứa cứu tầng lớp lao động, rồi lạc khỏi nỗi lo tiền chợ “No Kings” rầm rộ khắp nước Mỹ: Gần 7 triệu người xuống đường, khẳng định “Không có vua trong nền dân chủ”

 
Lên đầu Xuống dưới Lên 3000px Xuống 3000px

iPad Videos Portal Autoscroll

VietBF Music Portal Autoscroll

iPad News Portal Autoscroll

VietBF Homepage Autoscroll

VietBF Video Autoscroll Portal

USA News Autoscroll Portall

VietBF WORLD Autoscroll Portal

Home Classic

Super Widescreen

iPad World Portal Autoscroll

iPad USA Portal Autoscroll

Phim Bộ Online

Tin nóng nhất 24h qua

Tin nóng nhất 3 ngày qua

Tin nóng nhất 7 ngày qua

Tin nóng nhất 30 ngày qua

Albums

Total Videos Online
Lên đầu Xuống dưới Lên 3000px Xuống 3000px

Tranh luận sôi nổi nhất 7 ngày qua

Tranh luận sôi nổi nhất 14 ngày qua

Tranh luận sôi nổi nhất 30 ngày qua

10.000 Tin mới nhất

Tin tức Hoa Kỳ

Tin tức Công nghệ
Lên đầu Xuống dưới Lên 3000px Xuống 3000px

Super News

School Cooking Traveling Portal

Enter Portal

Series Shows and Movies Online

Home Classic Master Page

Donation Ủng hộ $3 cho VietBF
Lên đầu Xuống dưới Lên 3000px Xuống 3000px
Diễn Đàn Người Việt Hải Ngoại. Tự do ngôn luận, an toàn và uy tín. Vì một tương lai tươi đẹp cho các thế hệ Việt Nam hãy ghé thăm chúng tôi, hãy tâm sự với chúng tôi mỗi ngày, mỗi giờ và mỗi giây phút có thể. VietBF.Com Xin cám ơn các bạn, chúc tất cả các bạn vui vẻ và gặp nhiều may mắn.
Welcome to Vietnamese American Community, Vietnamese European, Canadian, Australian Forum, Vietnamese Overseas Forum. Freedom of speech, safety and prestige. For a beautiful future for Vietnamese generations, please visit us, talk to us every day, every hour and every moment possible. VietBF.Com Thank you all and good luck.

Lên đầu Xuống dưới Lên 3000px Xuống 3000px

All times are GMT. The time now is 18:02.
VietBF - Vietnamese Best Forum Copyright ©2005 - 2025
User Alert System provided by Advanced User Tagging (Pro) - vBulletin Mods & Addons Copyright © 2025 DragonByte Technologies Ltd.
Log Out Unregistered

Page generated in 0.09757 seconds with 13 queries