HOME-Au
HOME-Au
24h
24h
USA
USA
GOP
GOP
Phim Bộ
Phim Bộ
Videoauto
VIDEO-Au
Home Classic
Home Classic
Donation
Donation
News Book
News Book
News 50
News 50
worldautoscroll
WORLD-Au
Breaking
Breaking
 

Go Back   VietBF > Other News|Tin Khác > Mobile News|Tin Di Động


Reply
 
Thread Tools
  #1  
Old  Default iPhone 7 sẽ thay đổi hoàn toàn màn hình hiển thị?
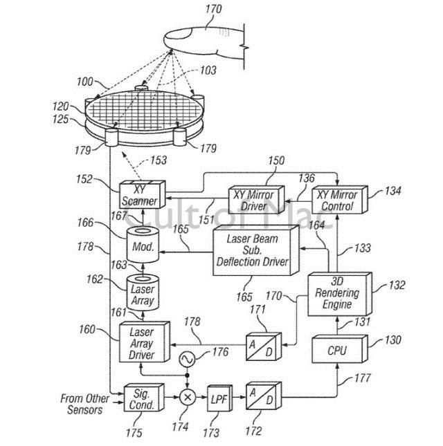
Các thế hệ sản phẩm iPhone, iPad tiếp theo của Apple rất có thể sẽ có màn hình hiển thị ba chiều cảm ứng theo một bằng sáng chế mới vừa được công bố của hãng.


Công nghệ màn hình mới của Apple sẽ cho người dùng trải nghiệm hình ảnh 3D như trong phim Star Wars.

Bằng sáng chế này sẽ thay đổi giao diện cảm ứng dựa trên vật lý đang được áp dụng hiện nay cho iPhone và máy tính bảng. Những hình ảnh nổi ba chiều 3-D sẽ được tạo ra bằng cách sử dụng chùm ánh sáng. Apple sẽ sử dụng một ống kính tạo thành từ nhiều ống kính micro để làm chệch hướng ánh sáng laser ở các góc độ khác nhau nhằm tạo ra một ảo ảnh quang học ba chiều.



Photo: Apple/USPTO

Chế độ cảm ứng sẽ được kích hoạt khi một chùm tia bị gián đoạn bởi một ngón tay hoặc bút stylus, và thông tin của các chuyển động này sẽ biến thành dữ liệu để điều khiển hoạt động của máy. Bằng sáng chế thiết bị hiển thị ba chiều tương tác này của Apple được nộp lần đầu tiên vào đầu năm 2011 do đó khả năng thiết bị này đang trong giai đoạn nghiên cứu là rất cao.

Tuy nhiên vẫn có nguy cơ bằng sáng chế này sẽ không bao giờ xuất hiện trên một thiết bị hoàn chỉnh trong tương lai gần vì công nghệ hiện nay vẫn chưa đáp ứng tốt các yêu cầu đề ra trong bằng sáng chế.

Theo TGDĐ/Cultofmac
VIETBF Diễn Đàn Hay Nhất Của Người Việt Nam

HOT NEWS 24h

HOT 3 Days

NEWS 3 Days

HOT 7 Days

NEWS 7 Days

HOME

Breaking News

VietOversea

World News

Business News

Car News

Computer News

Game News

USA News

Mobile News

Music News

Movies News

History

Thơ Ca

Sport News

Stranger Stories

Comedy Stories

Cooking Chat

Nice Pictures

Fashion

School

Travelling

Funny Videos

Canada Tin Hay

USA Tin Hay

VietBF Homepage Autoscroll

VietBF Video Autoscroll Portal

Home Classic

Home Classic Master Page



vuitoichat
R11 Tuyệt Thế Thiên Hạ
Release: 10-01-2014
Reputation: 370368


Profile:
Join Date: Jan 2008
Posts: 148,911
Last Update: None Rating: None
Attached Thumbnails
Click image for larger version

Name:	20141001144427-3d.jpg
Views:	0
Size:	34.3 KB
ID:	666721   Click image for larger version

Name:	20141001144346-man-hinh-1.jpg
Views:	0
Size:	38.9 KB
ID:	666722   Click image for larger version

Name:	20141001144346-man-hinh-2.jpg
Views:	0
Size:	52.3 KB
ID:	666723  

vuitoichat_is_offline
Thanks: 11
Thanked 14,098 Times in 11,259 Posts
Mentioned: 3 Post(s)
Tagged: 1 Thread(s)
Quoted: 44 Post(s)
Rep Power: 184
vuitoichat Reputation Uy Tín Level 10vuitoichat Reputation Uy Tín Level 10vuitoichat Reputation Uy Tín Level 10vuitoichat Reputation Uy Tín Level 10vuitoichat Reputation Uy Tín Level 10
vuitoichat Reputation Uy Tín Level 10vuitoichat Reputation Uy Tín Level 10vuitoichat Reputation Uy Tín Level 10vuitoichat Reputation Uy Tín Level 10
Reply

User Tag List


Công dân Mỹ cũng có thể bị ICE bắt nhầm: ‘Xứ tự do’ và nỗi sợ gõ cửa lúc nửa đêm Khi CIA mù tịt, còn một tướng VNCH đã nhìn ra trước Kinh tế Trung Quốc kẹt giữa lạm phát và giảm phát
Hàng Tàu phá vây thuế quan, Trump khoe kinh tế A+++ và chiếc ví rỗng của người Mỹ Nguyễn Cao Kỳ, cái chết bất ngờ và bài học đắt giá về ‘hòa hợp hòa giải’ Trung Quốc siết cổ doanh nghiệp Việt: Cuộc xâm lược thương mại ngay trên sân nhà
Mỹ đuổi thẳng tay nếu chửi Mỹ trên Facebook Hòa bình mong manh cho Ukraine: Kế hoạch 20 điểm, sức ép từ Trump và bài toán bầu cử giữa làn đạn Fed cắt lãi suất lần thứ ba liên tiếp: Powell “phanh gấp”, túi tiền người Mỹ thay đổi ra sao?
IKEA khai trương cửa hàng đầu tiên ở New Zealand: Người Kiwi xếp hàng từ tờ mờ sáng Nước Mỹ không dung dưỡng kẻ vô ơn: Tị nạn, di dân và cơn giận của Donald Trump Dư âm Giáng Sinh Sài Gòn xưa: Từ mùa sao sáng đến thánh ca buồn
Lê Duẩn – Mao Trạch Đông và cái giá “lá chắn phương Nam” của Việt Nam Trung Quốc hủy 540.000 vé sang Nhật: Đòn răn đe hay cú “tự bắn vào chân”? Trump xóa bỏ tiêu chuẩn nhiên liệu thời Biden
Mỹ đã hiểu sai tham vọng của Đảng Cộng sản Trung Quốc và đánh giá thấp sự quyết liệt tàn nhẫn của họ Tị nạn, thẻ xanh, visa du học cùng bị “khóa cửa” Khi bia Mexico gặp búa trừng phạt di trú của Trump: Cú ngã đau của đế chế Modelo – Corona
Biển số 37.77: Thông điệp ngầm của Thủ tướng Nhật Takaichi Sanae gửi Bắc Kinh Quốc tịch Mỹ: Tường thành gần như tuyệt đối cho người nhập tịch Con gái Hà Nội, giọt nước dưới mặt lá
Những tay giang hồ miền Nam: huyền thoại, bóng tối và cái giá phải trả Huỳnh Điều – “anh lớp Ba” mà Cộng sản sợ cái miệng hơn sợ khẩu M.79 Tiếng súng 9 giờ sáng ở Florida và hành trình cuối của nữ deputy Terri Sweeting-Mashkow
“Giang sơn” nào được sắp xếp, và sắp xếp cho ai? Sau 40 tuổi, khuôn mặt là “bản lý lịch” của tâm hồn Siêu biệt phủ trăm tỷ của Chủ tịch phường Hải Phòng: “Đại Lộc Thiên tử” giữa làng nghèo
Từ vụ sạc 24 giờ ở Mỹ đến chết yểu ở Ấn Độ: VinFast và câu hỏi dành cho người Việt Khi chú Hòa xây nhà bình dân: những kiệt tác âm thầm giữa lòng Sài Gòn Việt Nam – Xứ sở của những người bị bắt phải học nghề đói
Mailisa bị bắt và ký ức đôi vợ chồng ăn chay đi chùa Đi Hàn, đi Nhật rồi nhìn lại Việt Nam: yêu nước đâu chỉ nói trên môi Nepal – Đất nước sống ở năm 2082 giữa trái tim Himalaya
Nicholas Winton – Người hùng thầm lặng cứu 669 đứa trẻ khỏi bóng đen Đức Quốc Xã Bi kịch giáo sư Yoshihiro Sato: khi dữ liệu đẹp đổi lấy danh dự và cái chết Sự ngu dốt của bọn có học – từ Nguyễn Huy Thiệp đến thời những lời nói lật ngược sự thật

 
Lên đầu Xuống dưới Lên 3000px Xuống 3000px

iPad Videos Portal Autoscroll

VietBF Music Portal Autoscroll

iPad News Portal Autoscroll

VietBF Homepage Autoscroll

VietBF Video Autoscroll Portal

USA News Autoscroll Portall

VietBF WORLD Autoscroll Portal

Home Classic

Super Widescreen

iPad World Portal Autoscroll

iPad USA Portal Autoscroll

Phim Bộ Online

Tin nóng nhất 24h qua

Tin nóng nhất 3 ngày qua

Tin nóng nhất 7 ngày qua

Tin nóng nhất 30 ngày qua

Albums

Total Videos Online
Lên đầu Xuống dưới Lên 3000px Xuống 3000px

Tranh luận sôi nổi nhất 7 ngày qua

Tranh luận sôi nổi nhất 14 ngày qua

Tranh luận sôi nổi nhất 30 ngày qua

10.000 Tin mới nhất

Tin tức Hoa Kỳ

Tin tức Công nghệ
Lên đầu Xuống dưới Lên 3000px Xuống 3000px

Super News

School Cooking Traveling Portal

Enter Portal

Series Shows and Movies Online

Home Classic Master Page

Donation Ủng hộ $3 cho VietBF
Lên đầu Xuống dưới Lên 3000px Xuống 3000px
Diễn Đàn Người Việt Hải Ngoại. Tự do ngôn luận, an toàn và uy tín. Vì một tương lai tươi đẹp cho các thế hệ Việt Nam hãy ghé thăm chúng tôi, hãy tâm sự với chúng tôi mỗi ngày, mỗi giờ và mỗi giây phút có thể. VietBF.Com Xin cám ơn các bạn, chúc tất cả các bạn vui vẻ và gặp nhiều may mắn.
Welcome to Vietnamese American Community, Vietnamese European, Canadian, Australian Forum, Vietnamese Overseas Forum. Freedom of speech, safety and prestige. For a beautiful future for Vietnamese generations, please visit us, talk to us every day, every hour and every moment possible. VietBF.Com Thank you all and good luck.

Lên đầu Xuống dưới Lên 3000px Xuống 3000px

All times are GMT. The time now is 10:33.
VietBF - Vietnamese Best Forum Copyright ©2005 - 2025
User Alert System provided by Advanced User Tagging (Pro) - vBulletin Mods & Addons Copyright © 2025 DragonByte Technologies Ltd.
Log Out Unregistered

Page generated in 0.10277 seconds with 13 queries