HOME-Au
HOME-Au
24h
24h
USA
USA
GOP
GOP
Phim Bộ
Phim Bộ
Videoauto
VIDEO-Au
Home Classic
Home Classic
Donation
Donation
News Book
News Book
News 50
News 50
worldautoscroll
WORLD-Au
Breaking
Breaking
 

Go Back   VietBF > Other News|Tin Khác > Mobile News|Tin Di Động


Reply
 
Thread Tools
  #1  
Old  Default Apple phát triển chức năng khóa màn hình theo Android
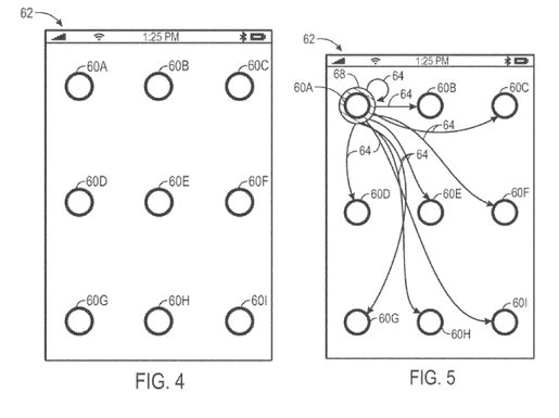
Hôm 17/4 vừa qua, Apple đã đăng kí bản quyền hai ứng dụng mới tại Phòng bản quyền và thương hiệu Hoa Kì (USPTO) dành cho hệ thống mở khóa bằng thao tác ngón tay đối với thiết bị iPhone và iPad.
Hệ thống trên được dự đoán sẽ phức tạp hơn hệ thống mở khóa đang được sử dụng hiện nay với những lựa chọn về các loại mã khóa thậm chí còn khó mở hơn phương thức hiện đang được áp dụng trên các thiết bị Android.
Bản quyền của Apple mô tả các thao tác khóa màn hình có thể được thay đổi bởi chính người sử dụng ở cả hai phương diện kích cỡ và vị trí. Thay đổi về kích cỡ khóa có thể khiến màn hình của người dùng dễ hoặc khó chạm vào hơn trong khi sắp xếp lại vị trí của các “điểm khóa” sẽ khiến người ngoài khó lòng bẻ khóa do hình dạng của khóa khó dự đoán hơn trước. Hệ thống trên cũng được tích hợp chức năng vô hình dành cho các điểm khóa và chỉ xuất hiện lần lượt khi người dùng thao tác đúng.

Sẽ có những điểm khóa ẩn và chỉ xuất hiện khi người dùng thao tác đúng
Mặt khác, Apple cũng bổ sung thêm các tính năng mới vào hệ thống mở khóa để tăng độ phức tạp như tốc độ di chuyển ngón tay, điểm dừng hay các yếu tố thời gian khác. Với những cải tiến này, cùng một thao tác mở khóa nhưng sẽ có hàng loạt cách mở với những biến thể khác nhau và mỗi biến thể chỉ có một cách duy nhất để mở.
Không những vậy, hệ thống cũng hỗ trợ phương thức sử dụng nhiều ngón tay cùng một lúc và bổ sung thêm chức năng đo độ an toàn của mã. Không giống như thước đo đối với mã kí tự hay con số như chúng ta sử dụng hiện nay, hệ thống đo lường của Apple sẽ xếp hạng cao hay thấp dựa trên độ dài, độ phức tạp, tính ngẫu nhiên của mã bên cạnh các yếu tố khác nữa.



Khả năng đánh giá mức độ an toàn của mất khẩu sẽ dựa trên độ phức tạp, tính ngẫu nhiên,...
Hiện tại, Apple vẫn chưa có ý định xây dựng hệ thống trên cho bất kì thiết bị nào của mình trong tương lai gần bởi nó có nhiều nét tương đồng so với phương thức mở khóa hiện nay của Android. Tuy nhiên, đây cũng được xem như một dấu hiệu cho thấy Táo khuyết đang tìm một hướng đi mới trong công nghệ bảo mật khi hãng không chỉ sử dụng chữ và số đơn thuần như thường lệ, đặc biệt điều này diễn ra trong bối cảnh các sản phẩm công nghệ tương lai sẽ cần những phương thức bảo mật phức tạp hơn để tránh khả năng bị xâm nhập từ các hacker hoặc người ngoài.



Theo TTCN
VIETBF Diễn Đàn Hay Nhất Của Người Việt Nam

HOT NEWS 24h

HOT 3 Days

NEWS 3 Days

HOT 7 Days

NEWS 7 Days

HOME

Breaking News

VietOversea

World News

Business News

Car News

Computer News

Game News

USA News

Mobile News

Music News

Movies News

History

Thơ Ca

Sport News

Stranger Stories

Comedy Stories

Cooking Chat

Nice Pictures

Fashion

School

Travelling

Funny Videos

Canada Tin Hay

USA Tin Hay

VietBF Homepage Autoscroll

VietBF Video Autoscroll Portal

Home Classic

Home Classic Master Page



megaup
R9 Tuyệt Đỉnh Tôn Sư
Release: 04-21-2014
Reputation: 12346


Profile:
Join Date: Mar 2008
Posts: 43,284
Last Update: None Rating: None
Attached Thumbnails
Click image for larger version

Name:	Apple-2.jpg
Views:	3
Size:	26.4 KB
ID:	602303  
megaup_is_offline
Thanks: 1
Thanked 1,016 Times in 490 Posts
Mentioned: 0 Post(s)
Tagged: 0 Thread(s)
Quoted: 0 Post(s)
Rep Power: 61
megaup Reputation Uy Tín Level 6
megaup Reputation Uy Tín Level 6megaup Reputation Uy Tín Level 6megaup Reputation Uy Tín Level 6megaup Reputation Uy Tín Level 6megaup Reputation Uy Tín Level 6megaup Reputation Uy Tín Level 6megaup Reputation Uy Tín Level 6megaup Reputation Uy Tín Level 6megaup Reputation Uy Tín Level 6megaup Reputation Uy Tín Level 6megaup Reputation Uy Tín Level 6megaup Reputation Uy Tín Level 6megaup Reputation Uy Tín Level 6
Reply

User Tag List


Úc cấm thiếu niên dưới 16 tuổi dùng Facebook vì quá độc hại, Mỹ có lẽ tiếp bước? Cái chết bí ẩn của Tulku Hungkar Dorje tại Sài Gòn: Bàn tay Bắc Kinh và sự im lặng của Hà Nội Thương Tín qua đời : Đám Tang Lặng Lẽ Ở Phan Rang Và Hào Quang Vang Bóng
85.000 tấm visa bị xé bỏ: chân dung nước Mỹ thời truy bức di dân 48 Giờ Cùm Tay Trên Bầu Trời: Số Phận Bà Melissa Trần Và Bóng Đen Luật Di Trú Mỹ Từ Tử Thủ Đến Công Chức Xứ Người – Đời Lưu Vong Của Trung Tướng Ngô Quang Trưởng
Mùa Noel “Ông Già Định Ở Lại” – Góc Đời Riêng Của Vợ Chồng Tổng Thống Nguyễn Văn Thiệu Trump, Obamacare và bài trắc nghiệm đạo đức mang tên “Make America Great Again” Từ giọt nước sông Rio Grande đến bóng ma sụp đổ USMCA
Lá Cờ Vàng – Giấc Mơ Nhỏ Và Vận Mệnh Lớn Của Dân Tộc Những trùng hợp rợn người trong lịch sử nhân loại Những bí mật bên trong xác ướp Ba Đình
Dân kinh doanh trả giá đắt vì chính sách thuế của Cộng Sản Trăm năm bia đá cũng mòn, bia hám danh thì còn mãi Sài Gòn ‘bỏ phố’: Mặt bằng trăm triệu, đèn tắt và kỷ nguyên thu mình của người kinh doanh
Costco kiện thuế quan: Cú tát 2.000 USD vào lời hứa ‘năm sau’ của ông Trump 401k – IRA – IUL: Ba cái ‘hũ để dành’ ở Mỹ, xài trật là mất toi tuổi già Chi bộn tiền làm đẹp, giờ ôm rổ mỹ phẩm mà run: Nỗi hoang mang của khách Mailisa sau ngày thẩm mỹ viện tắt đèn
Cột điện gỗ Mỹ để: Nửa thế kỷ vẫn đứng vững ở miền Nam Việt Nam Việt Nam sau 50 năm: Quyền được tự hào và nghĩa vụ… tự chịu đựng Thất thủ trước mưa lũ: Khi bộ máy cứu nạn chỉ còn là những công điện trên giấy
Từ quán phở tị nạn đến tiệm ăn làn sóng mới Hai cái bắt tay lịch sử Nixon – Thiệu và bi kịch một đồng minh bị bỏ rơi Lũ đã dâng tới nóc nhà rồi, lệnh cứu hộ mới ký: 24 giờ vàng bị đánh cắp bởi hai chữ “chờ lệnh”
Việt Nam dưới chế độ cộng sản: Có thật đáng để tự hào? Từ thuyền nhân Việt Nam đến công tố viên hạ gục “Kẻ sát nhân Golden State” Mỹ chính thức “khai tử” đồng penny: Chia tay 1 cent sau 232 năm lặng lẽ trong túi áo người dân
Địa đạo Củ Chi: Huyền thoại tuyên truyền và sự thật bị chôn trong đất đỏ Saudi bắt tay đại gia AI Mỹ: canh bạc nghìn tỷ USD của Thái tử Mohammed bin Salman Walmart – “liều thuốc giải” cho cơn khủng hoảng chi phí sinh hoạt ở nước Mỹ
Trump khoe “thời hoàng kim” dưới mái vòm McDonald’s, trong khi người Mỹ vẫn ngộp vì tiền chợ tiền nhà Doanh nghiệp nhỏ nước Mỹ oằn mình dưới thuế quan Trump và cơn bão chi phí sinh hoạt Trump xoay sang “Plan B”: Giấc mơ làm nước Mỹ rẻ hơn và thực tế hóa đơn ngày một dày
Trump “ảo thuật” giá cả: nói lạm phát giảm, nhưng hóa đơn người Mỹ vẫn tăng Trump trong lâu đài mạ vàng: hứa cứu tầng lớp lao động, rồi lạc khỏi nỗi lo tiền chợ “No Kings” rầm rộ khắp nước Mỹ: Gần 7 triệu người xuống đường, khẳng định “Không có vua trong nền dân chủ”

 
Lên đầu Xuống dưới Lên 3000px Xuống 3000px

iPad Videos Portal Autoscroll

VietBF Music Portal Autoscroll

iPad News Portal Autoscroll

VietBF Homepage Autoscroll

VietBF Video Autoscroll Portal

USA News Autoscroll Portall

VietBF WORLD Autoscroll Portal

Home Classic

Super Widescreen

iPad World Portal Autoscroll

iPad USA Portal Autoscroll

Phim Bộ Online

Tin nóng nhất 24h qua

Tin nóng nhất 3 ngày qua

Tin nóng nhất 7 ngày qua

Tin nóng nhất 30 ngày qua

Albums

Total Videos Online
Lên đầu Xuống dưới Lên 3000px Xuống 3000px

Tranh luận sôi nổi nhất 7 ngày qua

Tranh luận sôi nổi nhất 14 ngày qua

Tranh luận sôi nổi nhất 30 ngày qua

10.000 Tin mới nhất

Tin tức Hoa Kỳ

Tin tức Công nghệ
Lên đầu Xuống dưới Lên 3000px Xuống 3000px

Super News

School Cooking Traveling Portal

Enter Portal

Series Shows and Movies Online

Home Classic Master Page

Donation Ủng hộ $3 cho VietBF
Lên đầu Xuống dưới Lên 3000px Xuống 3000px
Diễn Đàn Người Việt Hải Ngoại. Tự do ngôn luận, an toàn và uy tín. Vì một tương lai tươi đẹp cho các thế hệ Việt Nam hãy ghé thăm chúng tôi, hãy tâm sự với chúng tôi mỗi ngày, mỗi giờ và mỗi giây phút có thể. VietBF.Com Xin cám ơn các bạn, chúc tất cả các bạn vui vẻ và gặp nhiều may mắn.
Welcome to Vietnamese American Community, Vietnamese European, Canadian, Australian Forum, Vietnamese Overseas Forum. Freedom of speech, safety and prestige. For a beautiful future for Vietnamese generations, please visit us, talk to us every day, every hour and every moment possible. VietBF.Com Thank you all and good luck.

Lên đầu Xuống dưới Lên 3000px Xuống 3000px

All times are GMT. The time now is 07:32.
VietBF - Vietnamese Best Forum Copyright ©2005 - 2025
User Alert System provided by Advanced User Tagging (Pro) - vBulletin Mods & Addons Copyright © 2025 DragonByte Technologies Ltd.
Log Out Unregistered

Page generated in 0.14292 seconds with 15 queries